授权公布号:CN117065621B
基于磁力排斥的变速分散装置及其在粉底液制备中的应用
有效
申请
2023-10-13
申请公布
2023-11-17
授权
2023-12-15
预估到期
2043-10-13
| 申请号 | CN202311326224.7 |
| 申请日 | 2023-10-13 |
| 申请公布号 | CN117065621A |
| 申请公布日 | 2023-11-17 |
| 授权公布号 | CN117065621B |
| 授权公告日 | 2023-12-15 |
| 分类号 | B01F29/83;B01F35/33;B01F101/21N |
| 分类 | 一般的物理或化学的方法或装置; |
| 申请人名称 | 汕头市奇伟实业有限公司 |
| 申请人地址 | 广东省汕头市潮南区峡山迎宾馆内汕头市奇伟实业有限公司 |
专利法律状态
2023-12-15
授权
状态信息
授权
2023-12-05
实质审查的生效
状态信息
实质审查的生效;IPC(主分类):B01F29/83;申请日:20231013
2023-11-17
公布
状态信息
公布
摘要
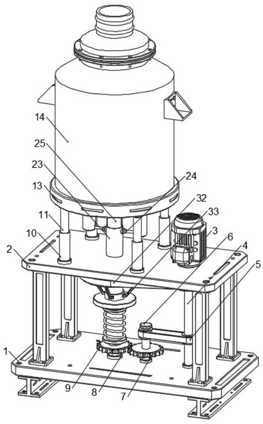
本发明涉及粉底液制备技术领域,具体为基于磁力排斥的变速分散装置及其在粉底液制备中的应用,包括:底座,所述底座上固定有固定板;搅拌桶,设置在所述固定板上,所述固定板上设置有与所述搅拌桶连接的支撑组件;刮板,对称设置在所述搅拌桶内,所述底座上设置有与所述刮板连接的反向转动组件,所述底座上还设置有与所述反向转动组件连接的驱动组件;卡合组件,设置在所述固定板上且与所述搅拌桶连接,所述底座上设置有与所述卡合组件连接的自适应变速机构;磁力缓冲组件,设置在所述底座上且与所述卡合组件和所述自适应变速机构连接;搅拌叶,对称设置在所述搅拌桶内,所述固定板上设置有与所述搅拌叶和所述卡合组件连接的角度调节组件。


