授权公布号:CN211167945U
一种运输盒
有效
申请
2019-09-27
申请公布
1970-01-01
授权
2020-08-04
预估到期
2029-09-27
| 申请号 | CN201921639679.3 |
| 申请日 | 2019-09-27 |
| 授权公布号 | CN211167945U |
| 授权公告日 | 2020-08-04 |
| 分类号 | B65D25/10;B65D25/02 |
| 分类 | 输送;包装;贮存;搬运薄的或细丝状材料; |
| 申请人名称 | 多特瑞(上海)商贸有限公司 |
| 申请人地址 | 上海市静安区南京西路699号3101-3108室 |
专利法律状态
2020-08-04
授权
状态信息
授权
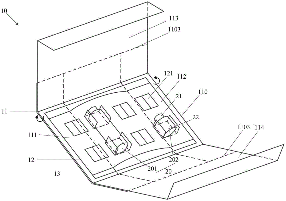
摘要
本实用新型实施例提供一种运输盒,包括:运输盒本体、用于承载商品的第一固定件和第二固定件;运输盒本体包括:用于承载第一固定件的底板,设置在底板上的第一侧板、第二侧板、第三侧板和第四侧板;第一固定件上设置有多个用于对商品定位的定位结构;第二固定件的两端分别固定在第一侧板与第二侧板上;第一侧板与第二侧板弯折后,第二固定件弹性伸展并压盖第一固定件上的商品。这样,通过运输盒自身结构在放置商品的同时,确保商品在盒体中固定,既防止了商品磕碰损坏,还省去放置额外的缓冲物,更有利于环保。进一步通过在第三、四侧板上设置多个弯折部,使第三、四侧板沿不同的弯折部弯折以调整运输盒高度,从而适用多种应用场景。


