授权公布号:CN218911500U
一种大中型设备可调地基基础
有效
申请
2022-12-28
申请公布
1970-01-01
授权
2023-04-25
预估到期
2032-12-28
| 申请号 | CN202223509060.5 |
| 申请日 | 2022-12-28 |
| 授权公布号 | CN218911500U |
| 授权公告日 | 2023-04-25 |
| 分类号 | E02D27/44 |
| 分类 | 水利工程;基础;疏浚; |
| 申请人名称 | 齐重数控装备股份有限公司 |
| 申请人地址 | 黑龙江省齐齐哈尔市龙沙区新城路66号 |
专利法律状态
2023-04-25
授权
状态信息
授权
摘要
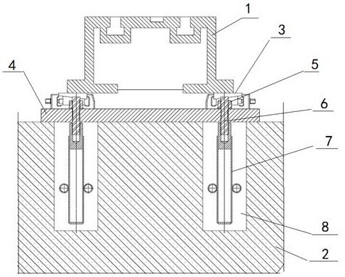
本实用新型公开了一种大中型设备可调地基基础,属于设备基建技术领域。包括钢制厚垫板、螺母、双头螺栓、预埋螺栓和混凝土桩,钢制厚垫板底部等间距的螺纹旋入有数个双头螺栓,钢制厚垫板上设有螺纹旋入双头螺栓的螺母,钢制厚垫板下方设有螺纹旋入双头螺栓的预埋螺栓,预埋螺栓插入场地地面开设的预埋孔内,混凝土灌入预埋孔,混凝土固化、养生后形成混凝土桩。该地基基础与大型钢筋混凝土地基基础相比,结构简单,用料少,成本低,易于操作,可以实现大中型设备正常安装使用,同时后期能够进行调整找平,提高地基基础的使用寿命。


