授权公布号:CN217693671U
无线耳机
有效
申请
2022-05-26
申请公布
1970-01-01
授权
2022-10-28
预估到期
2032-05-26
| 申请号 | CN202221311692.8 |
| 申请日 | 2022-05-26 |
| 授权公布号 | CN217693671U |
| 授权公告日 | 2022-10-28 |
| 分类号 | H04R1/10;H01Q1/22 |
| 分类 | 电通信技术; |
| 申请人名称 | 深圳市锐尔觅移动通信有限公司 |
| 申请人地址 | 广东省深圳市前海深港合作区前湾一路1号A栋201室(入驻深圳市前海商务秘书有限公司) |
专利法律状态
2022-10-28
授权
状态信息
授权
摘要
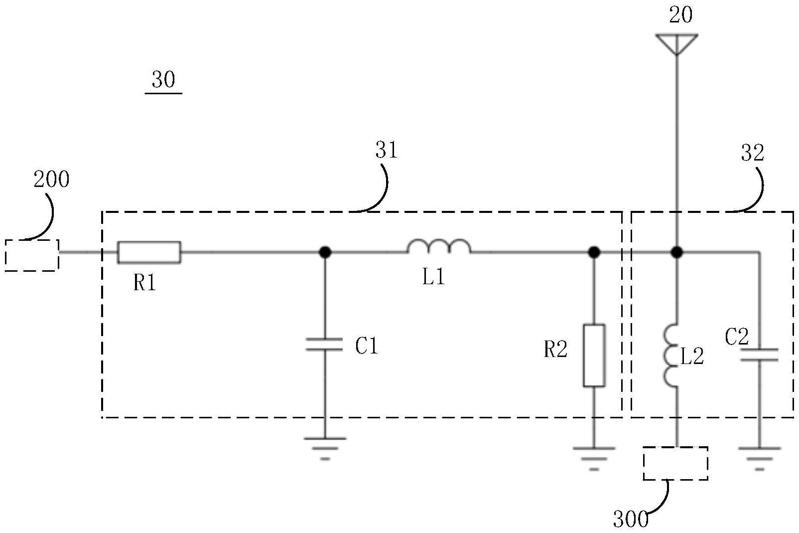
本申请公开了一种无线耳机。无线耳机包括:导电元件;天线,所述天线与所述导电元件复用;匹配电路,所述匹配电路与所述天线连接,所述匹配电路用于对所述导电元件和所述天线进行匹配。本申请实施方式的无线耳机中,将天线与导电元件复用,并且利用匹配电路对所述导电元件和所述天线进行匹配,使得导电元件可以实现收发信号,如此,无线耳机避免采用独立的天线结构,节约了无线耳机的内部空间,为布置无线耳机的其他零部件提供更多空间,零部件的布置更加合理。


