授权公布号:CN206244382U
一种大口径灌装嘴
有效
申请
2016-11-23
申请公布
1970-01-01
授权
2017-06-13
预估到期
2026-11-23
| 申请号 | CN201621265044.8 |
| 申请日 | 2016-11-23 |
| 授权公布号 | CN206244382U |
| 授权公告日 | 2017-06-13 |
| 分类号 | B67C3/28;B67C3/26;B65B3/04 |
| 分类 | 开启或封闭瓶子、罐或类似的容器;液体的贮运; |
| 申请人名称 | 广州市美驰化妆品有限公司 |
| 申请人地址 | 广东省广州市花都区花山镇两龙南街41号自编6号 |
专利法律状态
2017-06-13
授权
状态信息
授权
摘要
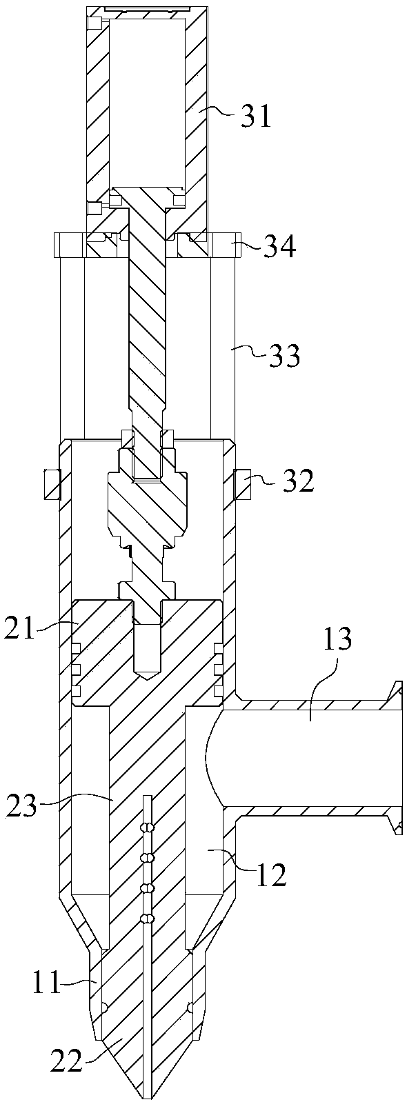
本实用新型公开了一种大口径灌装嘴,用于灌装设备技术领域,包括灌装嘴主体、内堵塞头和驱动部件,所述灌装嘴主体内设有活塞腔,活塞腔的下端设有出料口,所述内堵塞头包括与活塞腔配合的活塞、与所述出料口配合的堵头以及连接活塞和堵头的连接部,所述驱动部件可驱动所述内堵塞头往复运动以通过堵头打开或关闭所述出料口,灌装嘴主体内于活塞和堵头间形成灌装内腔,所述灌装嘴主体上设有与灌装内腔接通的入料口,内堵塞头的堵头下端设有与所述灌装内腔相通的孔道。本实用新型通过上述技术方案可以避免物料切不断、拉丝和滴漏的现象,保持瓶口、袋口和环境卫生,同时避免液料浪费。


