授权公布号:CN218675952U
一种工控机硬盘安装框架
有效
申请
2022-12-13
申请公布
1970-01-01
授权
2023-03-21
预估到期
2032-12-13
| 申请号 | CN202223333263.3 |
| 申请日 | 2022-12-13 |
| 授权公布号 | CN218675952U |
| 授权公告日 | 2023-03-21 |
| 分类号 | G06F1/18;G06F1/20;B01D46/10 |
| 分类 | 计算;推算;计数; |
| 申请人名称 | 深圳市汉智星科技有限公司 |
| 申请人地址 | 广东省深圳市龙华区大浪街道新石社区丽荣路1号昌毅工业厂区3号八层 |
专利法律状态
2023-03-21
授权
状态信息
授权
摘要
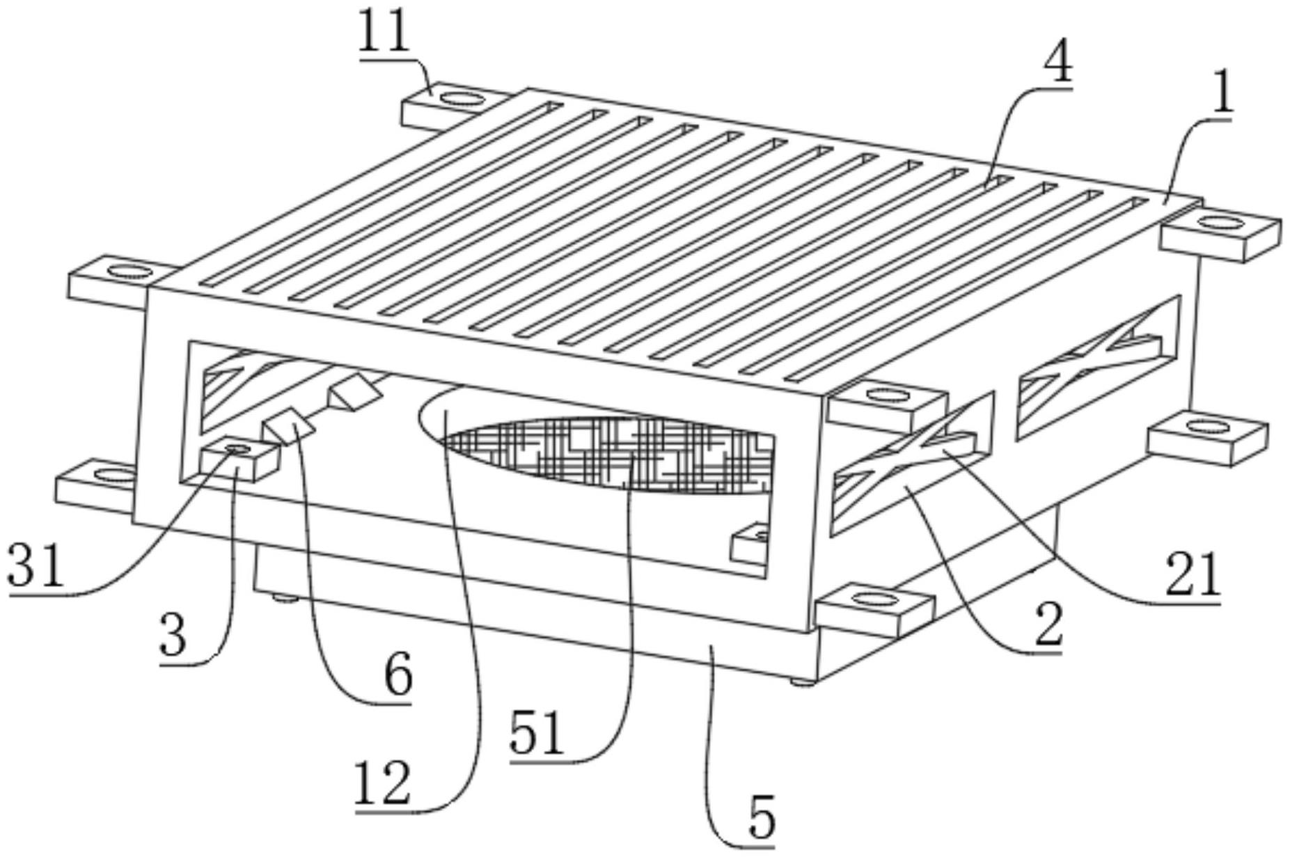
本实用新型涉及工控机硬盘安装技术领域,具体为一种工控机硬盘安装框架,包括框架,框架的外壁设置有安装块,安装块为左右对称的两组,每组为前后对称的两个,框架为前后贯通式,框架的顶端开设有散热槽,框架的底端开设有主通气口,框架的两侧开设有副通气口,框架的下端面安装设有吹风罩。通过在框架的顶端开设散热槽,在框架的底部设置吹风罩结构,并在框架的两侧开设副通气口结构,提高了工控机硬盘安装框架对于硬盘硬盘的散热性,通过在副通气口内设置X形状结构的加强架,并在框架的内腔壁上下端纵向排列设置三角状结构的肋板块,提高了工控机硬盘安装框架整体结构稳固性。


