授权公布号:CN219352146U
一种用于通信模块的防脱保护装置及其通讯终端
有效
申请
2022-11-29
申请公布
1970-01-01
授权
2023-07-14
预估到期
2032-11-29
| 申请号 | CN202223185663.4 |
| 申请日 | 2022-11-29 |
| 授权公布号 | CN219352146U |
| 授权公告日 | 2023-07-14 |
| 分类号 | H05K7/14;H05K5/02 |
| 分类 | 其他类目不包含的电技术; |
| 申请人名称 | 深圳微步信息股份有限公司 |
| 申请人地址 | 广东省深圳市南山区粤海街道科技园社区高新中二道5号生产力大楼B101 |
专利法律状态
2023-07-14
授权
状态信息
授权
摘要
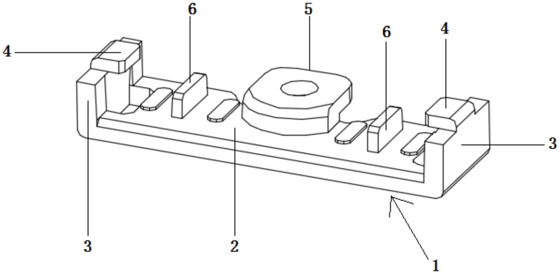
本实用新型提供了一种用于通信模块的防脱保护装置及其通讯终端,该用于通信模块的防脱保护装置包括适于安装限位通信模块的装夹主体;所述装夹主体配置成可拆装地侧向安装锁附在通信模块的底部,其包含形成匚型卡合区域的一体设置的底板和两侧板;所述侧板朝内折弯形成卡扣部,所述底板上设置用于将通信模块精准限定在卡合区域内的螺接部;所述底板上还设有用于承托通信模块的多个支撑部,所述支撑部适于将通信模块托举在卡合区域中以减少之间的相互挤压。通过将装夹主体配置成侧向安装锁附通信模块,可以彻底解决通信模块容易发生脱落的问题,并取消了点胶工艺,大大缩减生产工序及人力,方便设备二次返工维修,且能减少维修造成的物料损失。


