授权公布号:CN218929227U
一种具有自动散热功能的高安全性电池充电器
有效
申请
2022-12-16
申请公布
1970-01-01
授权
2023-04-28
预估到期
2032-12-16
| 申请号 | CN202223382653.X |
| 申请日 | 2022-12-16 |
| 授权公布号 | CN218929227U |
| 授权公告日 | 2023-04-28 |
| 分类号 | B60L53/30;B62J11/00;B60L53/16 |
| 分类 | 一般车辆; |
| 申请人名称 | 江西佰仕通电子科技有限公司 |
| 申请人地址 | 江西省抚州市南丰县工业园区 |
专利法律状态
2023-04-28
授权
状态信息
授权
摘要
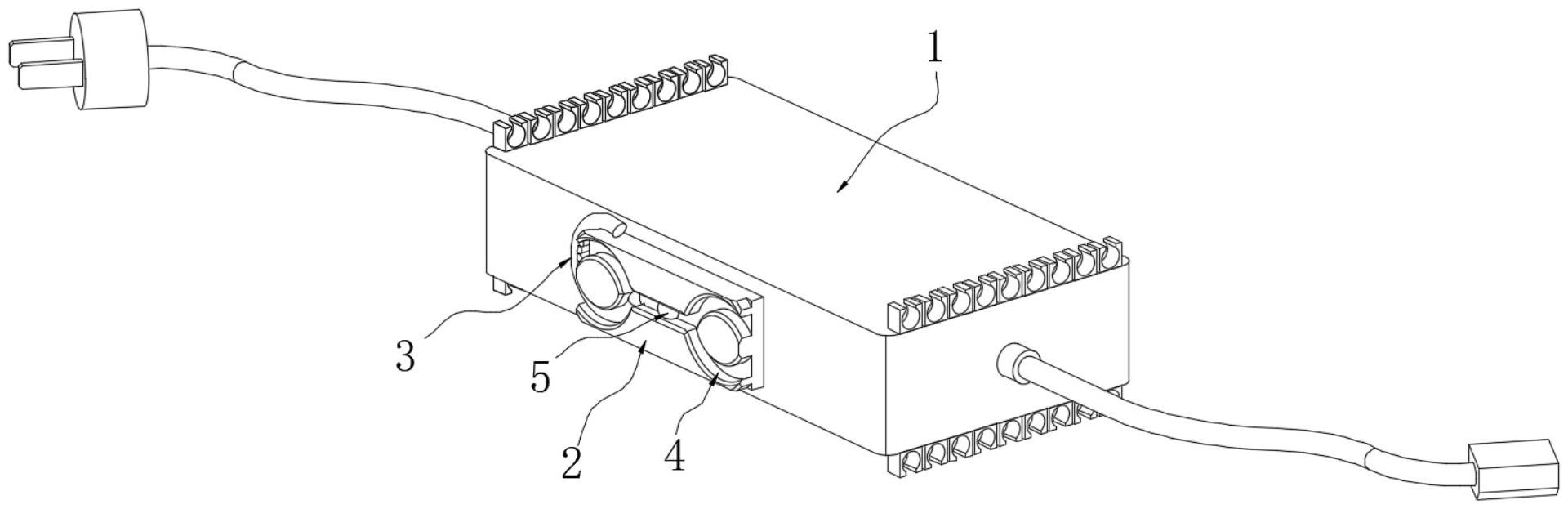
本实用新型公开了一种具有自动散热功能的高安全性电池充电器,涉及充电器领域,包括充电器主体,所述充电器主体侧壁安装有支撑座,且支撑座活动安装有挂钩,并且支撑座外壁开设有与挂钩相对应的安装槽。本实用新型通过设置有支撑座、球轴、挂钩、引导块和卡槽,在支撑座和球轴的作用下,使得挂钩可以在支撑座内进行转动,从而方便对挂钩和充电器主体的角度进行调节,同时在挂钩的作用下,使得在使用时可以将挂钩挂在电动车的车把上,从而使得充电器主体的位置被限定,同时摩擦条会增加挂钩与电动车车把之间连接的稳定性,进一步的确保充电器主体在使用时的稳定性,有效防止充电器主体在使用时出现掉落的现象。


