授权公布号:CN108110458B
一种输电线路连接结构
有效
申请
2017-12-21
申请公布
2018-06-01
授权
2023-07-21
预估到期
2037-12-21
| 申请号 | CN201711389260.2 |
| 申请日 | 2017-12-21 |
| 申请公布号 | CN108110458A |
| 申请公布日 | 2018-06-01 |
| 授权公布号 | CN108110458B |
| 授权公告日 | 2023-07-21 |
| 分类号 | H01R13/02;H01R13/428;H01R13/46;H01R13/502;H01R13/62;H01R24/00;H01R35/04 |
| 分类 | 基本电气元件; |
| 申请人名称 | 江西佰仕通电子科技有限公司 |
| 申请人地址 | 江西省抚州市南丰县工业园区 |
专利法律状态
2023-07-21
授权
状态信息
授权
2018-06-26
实质审查的生效
状态信息
实质审查的生效;IPC(主分类):H01R13/02;申请日:20171221
2018-06-01
公布
状态信息
公布
摘要
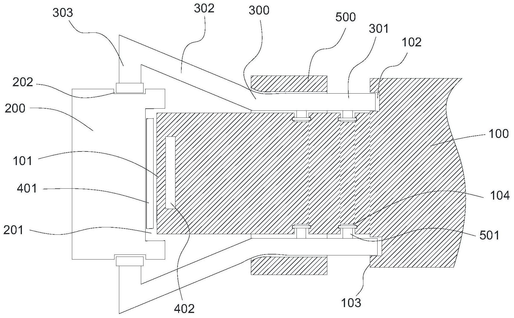
本发明公开一种输电线路连接结构,包括有插头、插座,插头包括柱状的主体;插座呈柱型,插座的其中一端面设有槽位,插座的侧壁上设有若干插孔,各插孔沿插座的圆周方向等间距设置;主体呈棱柱状,主体的其中一端部与槽位配合,主体的周侧面套设有环形圈,环形圈与主体转动连接;环形圈的内圈壁固定设有至少两个导电爪手,导电爪手具有弹性,导电爪手远离环形圈的一端具有弯钩部,弯钩部抵合插座的周侧面,弯钩部的形状与插孔的形状相匹配;导电爪手的远离插座的一端与主体内的输电线路导电连接。与现有技术相比,本发明可简化插头与插座的插合过程,提高使用安全性。


