授权公布号:CN211437157U
计算机板卡清理装置
有效
申请
2019-12-14
申请公布
1970-01-01
授权
2020-09-08
预估到期
2029-12-14
| 申请号 | CN201922247755.2 |
| 申请日 | 2019-12-14 |
| 授权公布号 | CN211437157U |
| 授权公告日 | 2020-09-08 |
| 分类号 | B08B1/04 |
| 分类 | 清洁; |
| 申请人名称 | 武汉宁美国度科技有限公司 |
| 申请人地址 | 湖北省武汉市东湖开发区金融港一路7号神州数码武汉科技园27#楼8层2号 |
专利法律状态
2020-09-08
授权
状态信息
授权
摘要
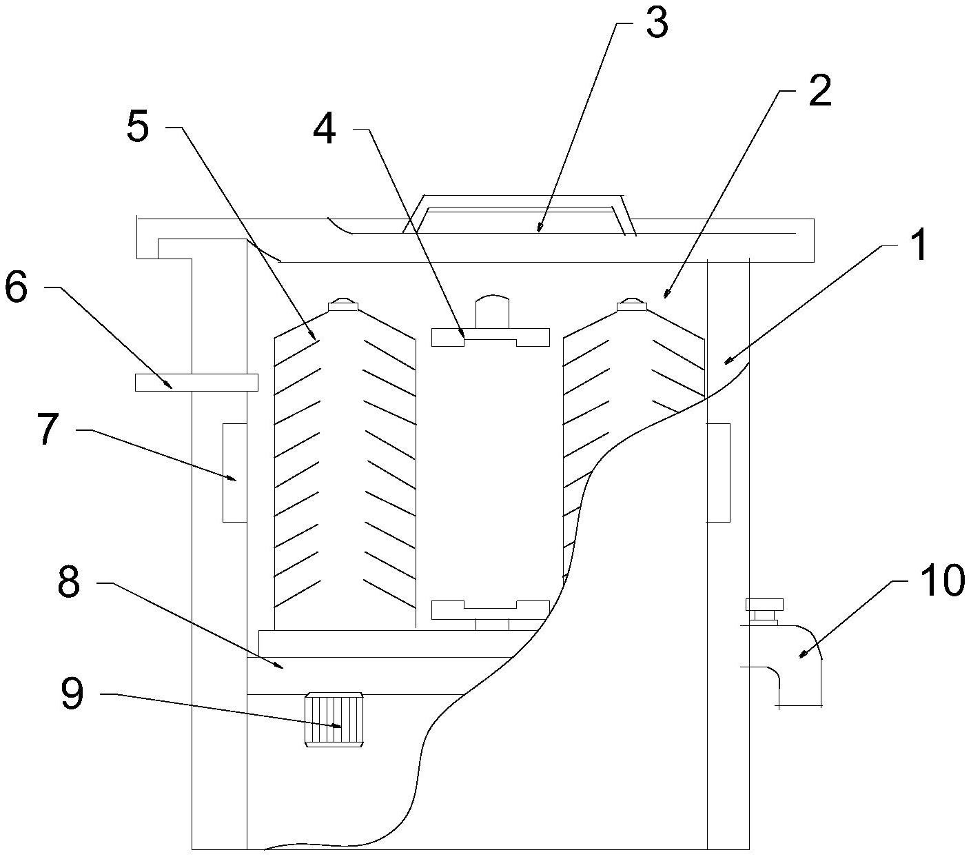
本实用新型涉及一种计算机板卡清理装置,包括箱体,所述箱体的内部设隔板,所述隔板的上端设清洗室,所述清洗室内设刷辊、转轴和固定槽,所述隔板的下端设第一电机和第二电机,所述第一电机的输出轴通过箱体侧壁连接刷辊,所述第二电机的输出轴通过箱体侧壁连接转轴的一端,所述转轴的另一端连接固定槽,所述刷辊和转轴平行设置,所述箱体的侧壁内部、对应刷辊处设与刷辊电连接的超声波发生器;本实用新型提供的清理装置,借助转动的清理刷辊和固定槽加速清洗剂的流动,使得清洗下的灰尘快速远离电路板,增强了清洗效果,提高了工作效率。


