授权公布号:CN214959709U
一种具有防火功能的演播室系统
有效
申请
2021-05-08
申请公布
1970-01-01
授权
2021-11-30
预估到期
2031-05-08
| 申请号 | CN202120977018.2 |
| 申请日 | 2021-05-08 |
| 授权公布号 | CN214959709U |
| 授权公告日 | 2021-11-30 |
| 分类号 | H04N5/222;A62C31/00;A62C31/28;A62C37/00 |
| 分类 | 电通信技术; |
| 申请人名称 | 武汉思非电子技术有限公司 |
| 申请人地址 | 湖北省武汉市东湖开发区光谷大道关南福星医药园5幢6层1号 |
专利法律状态
2021-11-30
授权
状态信息
授权
摘要
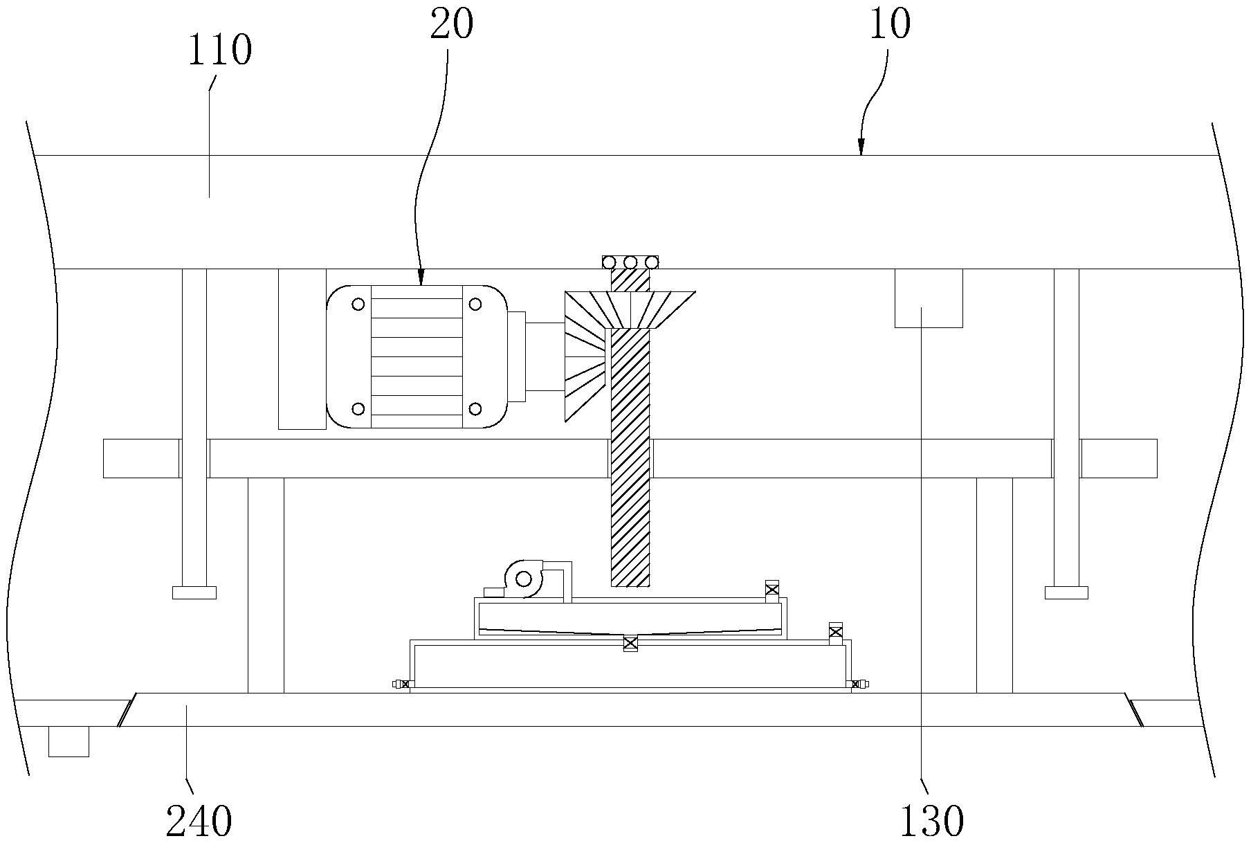
本实用新型提供了一种具有防火功能的演播室系统,属于防火系统技术领域。该具有防火功能的演播室系统包括支撑机构和防火机构。所述支撑机构包括屋顶板、天花板、PLC控制器、导轨和烟雾传感器,所述天花板连接于所述屋顶板一侧,所述烟雾传感器安装于所述天花板一侧。本实用新型通过烟雾传感器、PLC控制器、电机、第一圆锥齿轮、第二圆锥齿轮、螺纹杆、滑板、支杆、吊板、硫酸铝箱、碳酸氢钠箱、第一电磁阀、风机和第三电磁阀、连接管和喷嘴的作用,从而达到了具有防火功能的目的,在电子设备因长时间使用,导致积累大量的热量和线路老化后,可增大电子设备周围二氧化碳含量,使电子设备不易燃烧,进行阻燃,不易造成经济损失。


