授权公布号:CN215598438U
一种智慧工地用太阳能无线监控系统
有效
申请
2021-05-31
申请公布
1970-01-01
授权
2022-01-21
预估到期
2031-05-31
| 申请号 | CN202121186292.4 |
| 申请日 | 2021-05-31 |
| 授权公布号 | CN215598438U |
| 授权公告日 | 2022-01-21 |
| 分类号 | G01D11/30;G01D21/02 |
| 分类 | 测量;测试; |
| 申请人名称 | 宜兴市普天视电子有限公司 |
| 申请人地址 | 江苏省无锡市宜兴市新庄街道新庄街 |
专利法律状态
2022-01-21
授权
状态信息
授权
摘要
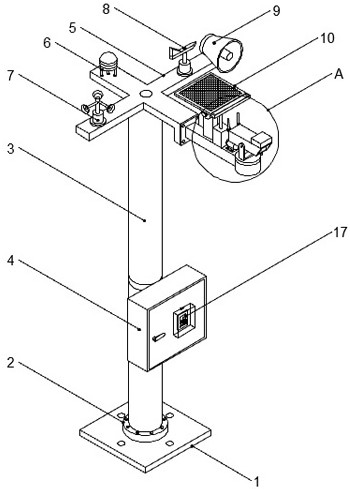
本实用新型公开了一种智慧工地用太阳能无线监控系统,包括底板和系统本体,底板顶端开设有若干安装孔,底板顶端焊接有安装座,安装座顶端安装有立柱,立柱一侧设有电池箱,电池箱一侧设有卡箍,电池箱和立柱通过卡箍卡合连接,立柱顶端安装有安装架,安装架顶端安装有百叶盒百叶盒内部设有温湿度传感器,安装架顶端安装有风速传感器,安装架顶端安装有风向传感器,安装架一侧安装有延长杆,延长杆顶端安装有摄像头。该种智慧工地用太阳能无线监控系统,结构简单合理,设计新颖,操作简单便捷,能有效实现多项监控,且断电后会进行延迟监控,同时支持太阳能供电,具有较高的实用价值。


