授权公布号:CN113568531B
触控显示面板以及触控显示装置
有效
申请
2021-07-30
申请公布
2021-10-29
授权
2024-03-15
预估到期
2041-07-30
| 申请号 | CN202110874029.2 |
| 申请日 | 2021-07-30 |
| 申请公布号 | CN113568531A |
| 申请公布日 | 2021-10-29 |
| 授权公布号 | CN113568531B |
| 授权公告日 | 2024-03-15 |
| 分类号 | G06F3/044;G06F3/041 |
| 分类 | 计算;推算;计数; |
| 申请人名称 | TCL华星光电技术有限公司 |
| 申请人地址 | 广东省深圳市光明新区塘明大道9-2号 |
专利法律状态
2024-03-15
授权
状态信息
授权
2021-10-29
公布
状态信息
公布
摘要
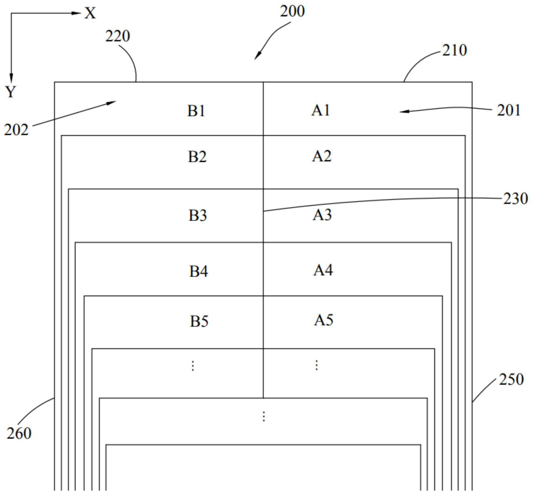
一种触控显示面板包括显示屏、第一电磁触控走线及第二电磁触控走线。第一电磁触控走线沿第一方向设置于所述显示屏上,所述第一电磁触控走线包括分布在第一区域的多条第一电磁触控子线及分布在第二区域的多条第二电磁触控子线,任两相邻的所述第一电磁触控子线分别围成多个第一电磁感应通道,任两相邻的所述第二电磁触控子线分别围成多个第二电磁感应通道。第二电磁触控走线沿第二方向设置于所述第一电磁触控走线上方,所述第二电磁触控走线与所述第一电磁触控走线相互交叉且绝缘设置,降低第一/第二电磁感应通道电阻,提高定位坐标信息能力,实现大尺寸触控显示面板的可能性,并且改善电磁触控走线对显示的影响。


