授权公布号:CN113672119B
显示装置
有效
申请
2021-08-05
申请公布
2021-11-19
授权
2024-03-26
预估到期
2041-08-05
| 申请号 | CN202110897289.1 |
| 申请日 | 2021-08-05 |
| 申请公布号 | CN113672119A |
| 申请公布日 | 2021-11-19 |
| 授权公布号 | CN113672119B |
| 授权公告日 | 2024-03-26 |
| 分类号 | G06F3/041 |
| 分类 | 计算;推算;计数; |
| 申请人名称 | TCL华星光电技术有限公司 |
| 申请人地址 | 广东省深圳市光明新区塘明大道9-2号 |
专利法律状态
2024-03-26
授权
状态信息
授权
2021-11-19
公布
状态信息
公布
摘要
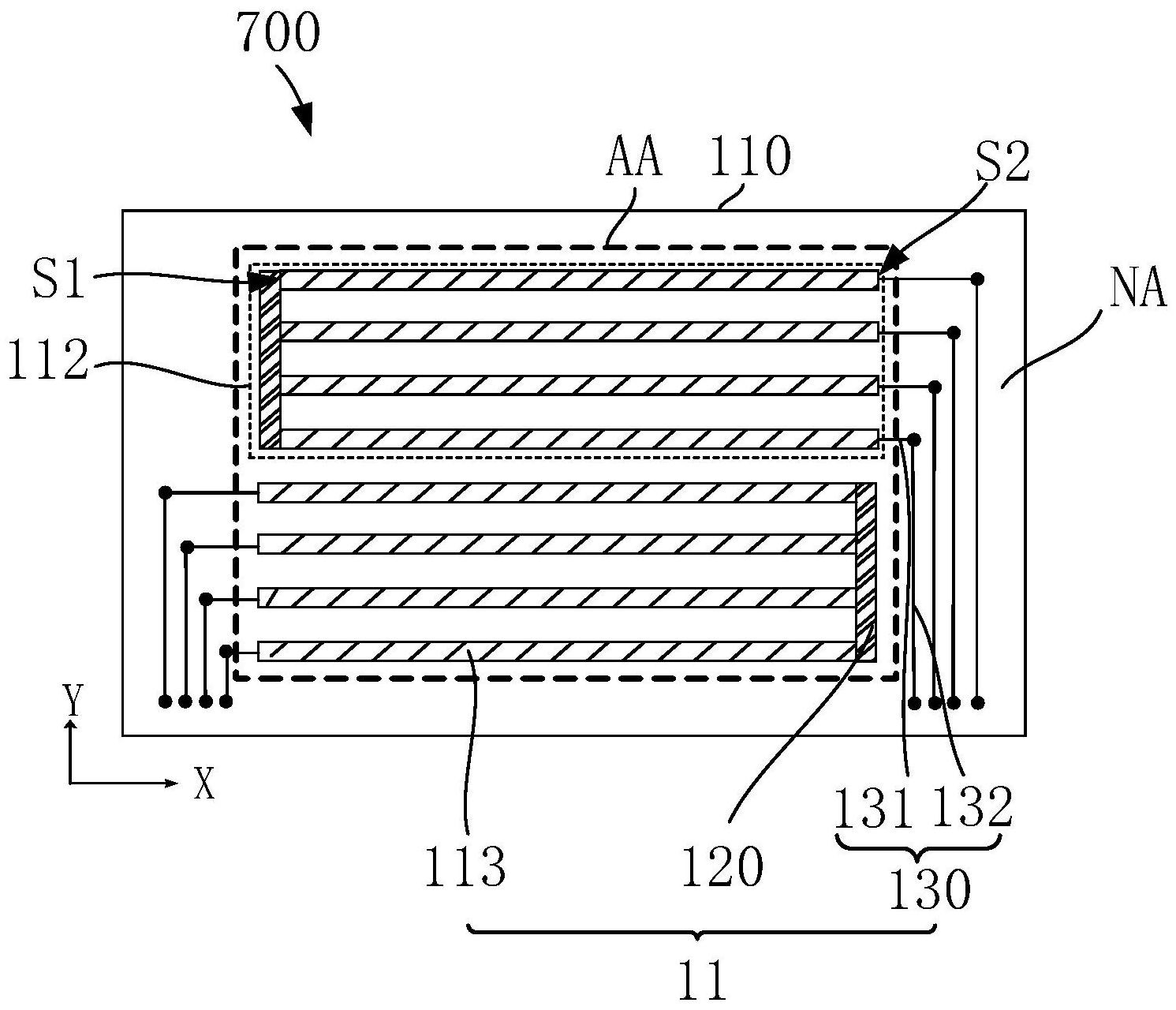
本申请实施例公开了一种显示装置。本申请的显示装置包括显示面板和多个感应天线回路,显示面板包括显示区,显示区包括多个布线区,每个布线区上均设置有多条感应天线,多条感应天线沿第一方向间隔设置;多个感应天线回路设置在显示面板上,多个所述布线区上分别设置有一个所述感应天线回路,每个感应天线回路包括对应布线区上的多条感应天线。本申请通过将显示面板上的感应天线分为多个布线区,多个布线区上分别设置有一个感应天线回路,可以减小感应天线回路的电阻,提高显示装置的触控感应定位的准确性。


