授权公布号:CN114660856B
阵列基板及显示装置
有效
申请
2022-03-16
申请公布
2022-06-24
授权
2024-02-20
预估到期
2042-03-16
| 申请号 | CN202210259582.X |
| 申请日 | 2022-03-16 |
| 申请公布号 | CN114660856A |
| 申请公布日 | 2022-06-24 |
| 授权公布号 | CN114660856B |
| 授权公告日 | 2024-02-20 |
| 分类号 | G02F1/1343 |
| 分类 | 光学; |
| 申请人名称 | TCL华星光电技术有限公司 |
| 申请人地址 | 广东省深圳市光明新区塘明大道9-2号 |
专利法律状态
2024-02-20
授权
状态信息
授权
2022-07-12
实质审查的生效
状态信息
实质审查的生效;IPC(主分类):G02F1/1343;申请日:20220316
2022-06-24
公布
状态信息
公布
摘要
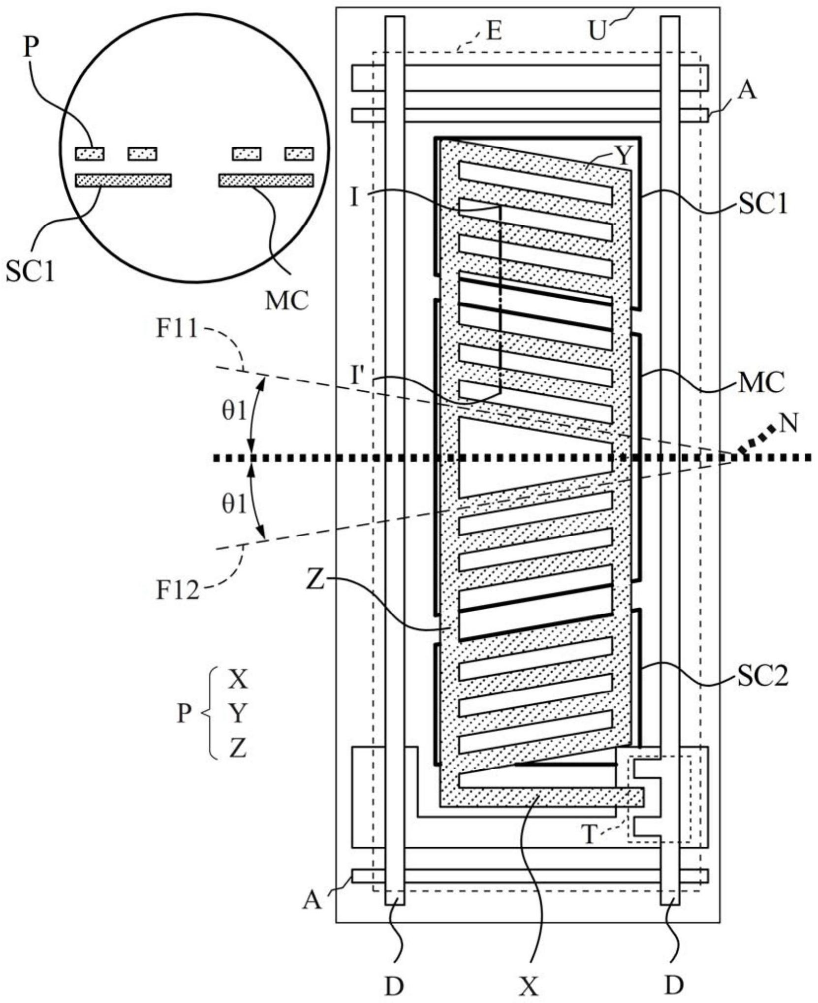
本发明提供一种阵列基板及显示装置,所述阵列基板包括:衬底;和多个像素单元,设置于所述衬底上,每个像素单元包括:像素电极;第一公共电极与所述像素电极间隔设置,所述第一公共电极在所述衬底上的正投影与所述像素电极在所述衬底上的正投影至少部分重叠;及至少一第二公共电极,与所述第一公共电极同层设置,所述第二公共电极在所述衬底上的正投影与所述像素电极在所述衬底上的正投影至少部分重叠;其中,所述第一公共电极和所述第二公共电极相互绝缘。从而,改善现有技术的显示装置的色域。


