授权公布号:CN204613334U
一种饮料机控制面板的测试治具
有效
申请
2015-05-25
申请公布
1970-01-01
授权
2015-09-02
预估到期
2025-05-25
| 申请号 | CN201520341572.6 |
| 申请日 | 2015-05-25 |
| 授权公布号 | CN204613334U |
| 授权公告日 | 2015-09-02 |
| 分类号 | G01R31/00 |
| 分类 | 测量;测试; |
| 申请人名称 | 无锡天任电子有限公司 |
| 申请人地址 | 江苏省无锡市无锡(国家)工业设计园创意园6号5楼 |
专利法律状态
2015-09-02
授权
状态信息
授权
摘要
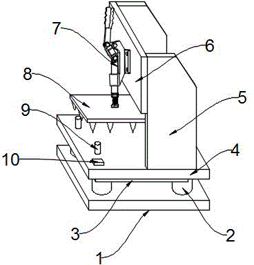
本实用新型公开了一种饮料机控制面板的测试治具,包括设置在底部的底板和位于底板上方的承载盘,底板与承载台之间设置有支撑柱,所述承载盘下表面安装有电路板,承载台上表面设置有与电路板相连的开关和用于固定面板的导柱,承载台两侧均设置有一块侧板,位于两侧板之间设置有压板,压板下表面上设置有阵列的顶针,压板上表面与快速夹具的顶杆连接,该快速夹具固定在挂板上,且所述挂板安装在两侧板的侧壁上。本实用新型通过相应的电路板来检测控制面板,检测时长短且检测误差小,能够实现大批量的检测。


