授权公布号:CN105729303B
摆动磨头驱动装置
有效
申请
2016-04-08
申请公布
2016-07-06
授权
2018-04-03
预估到期
2036-04-08
| 申请号 | CN201610214790.2 |
| 申请日 | 2016-04-08 |
| 申请公布号 | CN105729303A |
| 申请公布日 | 2016-07-06 |
| 授权公布号 | CN105729303B |
| 授权公告日 | 2018-04-03 |
| 分类号 | B24B47/12;B24B47/16 |
| 分类 | 磨削;抛光; |
| 申请人名称 | 无锡天任电子有限公司 |
| 申请人地址 | 江苏省无锡市蠡园开发区高新技术产业园6号房5楼 |
专利法律状态
2018-04-03
授权
状态信息
授权
2016-08-03
实质审查的生效
状态信息
实质审查的生效IPC(主分类):B24B 47/12申请日:20160408
2016-07-06
公布
状态信息
公开
摘要
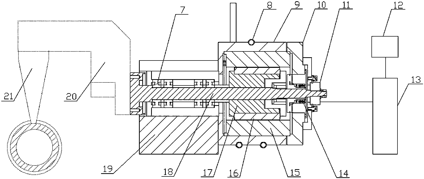
本发明涉及一种摆动磨头驱动装置。它的特点是包括机壳,该机壳呈一端封闭、一端敞开的圆筒形,且其敞开端有盖板,机壳的封闭端和盖板上均有中心孔。机壳内有主轴,主轴分别穿过机壳封闭端和盖板的中心孔。机壳的内壁上固定有电机定子,机壳内的那段主轴上固定有电机转子。机壳封闭端的外侧固定有支撑座,机壳封闭端外侧的那段主轴通过轴承与该支撑座呈转动配合。盖板对应的主轴一端连接有编码器,编码器通过导线连接有伺服驱动器,伺服驱动器通过导线连接有电源。采用该装置驱动摆动磨头进行超精研加工,设备震动小,角度调整精确,磨削速度高,不会出现爬行、寸动问题,工件的加工精度较高,机构的养护成本较低。


