授权公布号:CN210324412U
一种无人售货泡面柜
有效
申请
2019-09-23
申请公布
1970-01-01
授权
2020-04-14
预估到期
2029-09-23
| 申请号 | CN201921565808.9 |
| 申请日 | 2019-09-23 |
| 授权公布号 | CN210324412U |
| 授权公告日 | 2020-04-14 |
| 分类号 | G07F17/00 |
| 分类 | 核算装置; |
| 申请人名称 | 无锡天任电子有限公司 |
| 申请人地址 | 江苏省无锡市蠡园开发区高新技术产业园6号房5楼 |
专利法律状态
2020-04-14
授权
状态信息
授权
摘要
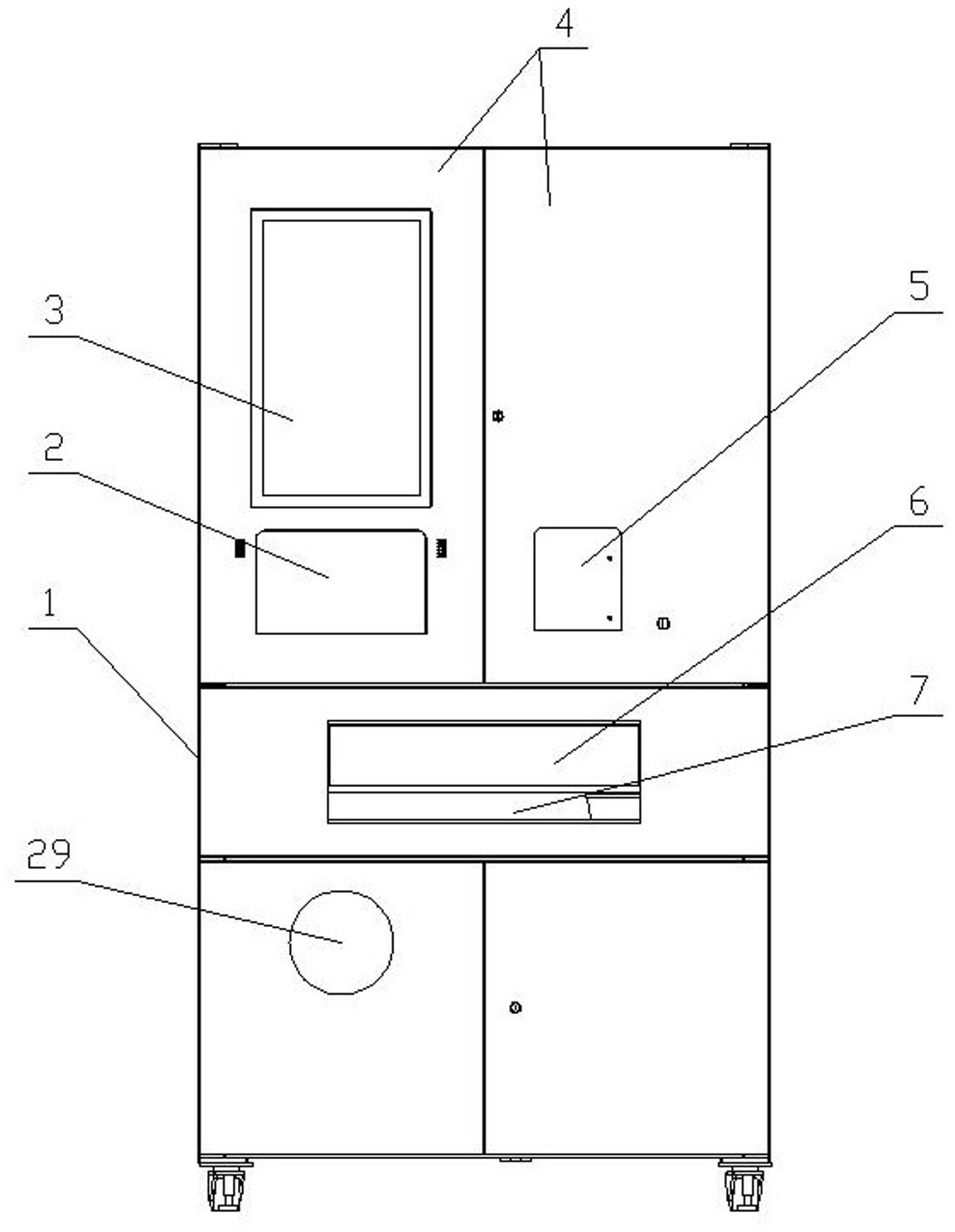
本实用新型涉及一种无人贩卖机,具体说是用于贩卖泡面的无人售货泡面柜。它包括柜体,柜体上有控制器,柜体内有泡面货架,柜体的正面上有取料口,泡面货架与取料口间有出料机构,出料机构通过导线与控制器相连。其特点是所述柜体上有供热水装置,该供热水装置包括即热水器和供水机构,供水机构通过管道与即热水器相连,即热水器通过导线与所述控制器相连。该无人售货泡面柜的功能较多,泡面过程便捷,消耗的时间较少。


