授权公布号:CN217003783U
一种平板电脑的连接底座
有效
申请
2022-03-10
申请公布
1970-01-01
授权
2022-07-19
预估到期
2032-03-10
| 申请号 | CN202220519594.7 |
| 申请日 | 2022-03-10 |
| 授权公布号 | CN217003783U |
| 授权公告日 | 2022-07-19 |
| 分类号 | F16M11/04;F16M7/00;G06F1/16 |
| 分类 | 工程元件或部件;为产生和保持机器或设备的有效运行的一般措施;一般绝热; |
| 申请人名称 | 深圳市乐凡信息科技有限公司 |
| 申请人地址 | 广东省深圳市南山区西丽街道西丽社区打石一路深圳国际创新谷1栋B座1104 |
专利法律状态
2022-07-19
授权
状态信息
授权
摘要
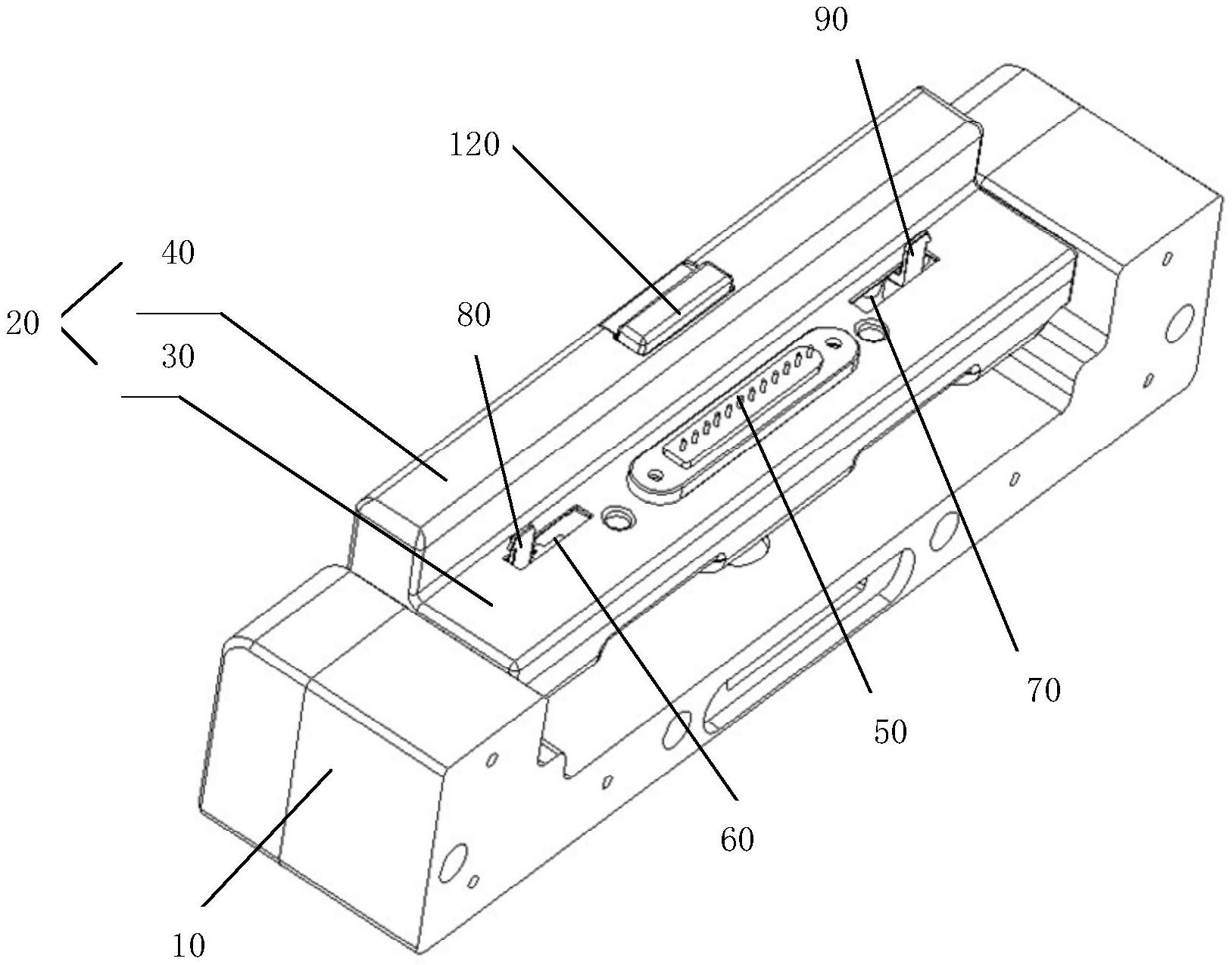
本实用新型提供了一种平板电脑的连接底座,包括凹形基座和夹持在所述凹形基座的凹口内的L形连接座,所述L形连接座包括底座部分和靠背部分,所述底座部分的表面设置有弹簧针连接器、第一槽口和第二槽口,所述第一槽口内设置有第一卡钩,所述第二槽口内设置有第二卡钩,所述第一卡钩的钩头和所述第二卡钩的钩头朝向相反;所述靠背部分内设置有第一滑块和第二滑块,所述第一滑块与所述第一卡钩相连,所述第二滑块与所述第二卡钩相连;所述靠背部分的顶部露出设置有用于驱使所述第一滑块和所述第二滑块之间作靠拢或远离运动的解锁按钮。本实用新型的连接底座采用了由按钮和滑块带动的卡钩结构来实现与平板电脑连接,连接更加牢固,解锁更加方便。


