授权公布号:CN208489444U
用于手表的type-C接口结构
有效
申请
2018-08-03
申请公布
1970-01-01
授权
2019-02-12
预估到期
2028-08-03
| 申请号 | CN201821244149.4 |
| 申请日 | 2018-08-03 |
| 授权公布号 | CN208489444U |
| 授权公告日 | 2019-02-12 |
| 分类号 | H01R13/52;H01R13/502 |
| 分类 | 基本电气元件; |
| 申请人名称 | 惠州市惠泽电器有限公司 |
| 申请人地址 | 广东省惠州市惠城区水口办惠泽大道82号 |
专利法律状态
2019-02-12
授权
状态信息
授权
摘要
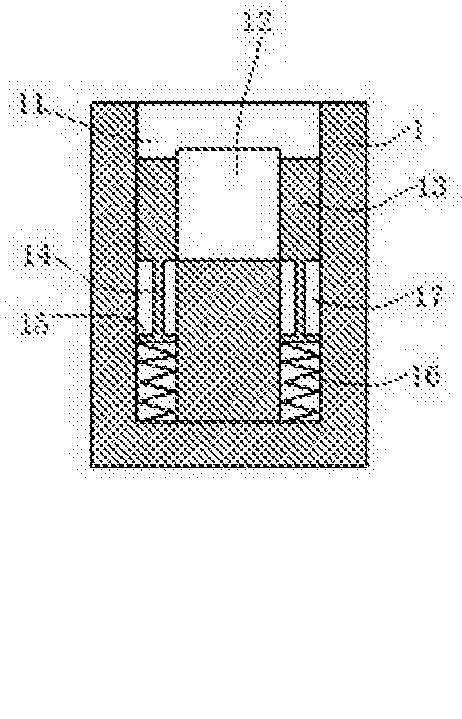
本实用新型涉及一种用于手表的type‑C接口结构,包括手表本体,所述手表本体上开设有凹槽,所述凹槽内设置有母座,所述母座包括插片,所述插片设置于所述凹槽的中部,其特征在于,所述插片上套设有隔离块,所述隔离块与所述凹槽的侧壁和插片的边缘均紧密接触,所述凹槽的底部对应所述隔离块设置有环形导孔,所述环形导孔内设置有弹性装置,所述弹性装置与所述隔离块的底部连接。本实用新型可以有效延长插片的使用寿命。


