授权公布号:CN219210344U
一种鼠标加工表面修复喷涂装置
有效
申请
2022-10-13
申请公布
1970-01-01
授权
2023-06-20
预估到期
2032-10-13
| 申请号 | CN202222699301.0 |
| 申请日 | 2022-10-13 |
| 授权公布号 | CN219210344U |
| 授权公告日 | 2023-06-20 |
| 分类号 | B05B13/02;B05B9/04 |
| 分类 | 一般喷射或雾化;对表面涂覆液体或其他流体的一般方法〔2〕; |
| 申请人名称 | 东莞市川东电子科技有限公司 |
| 申请人地址 | 广东省东莞市石碣镇四甲西河工业区 |
专利法律状态
2023-06-20
授权
状态信息
授权
摘要
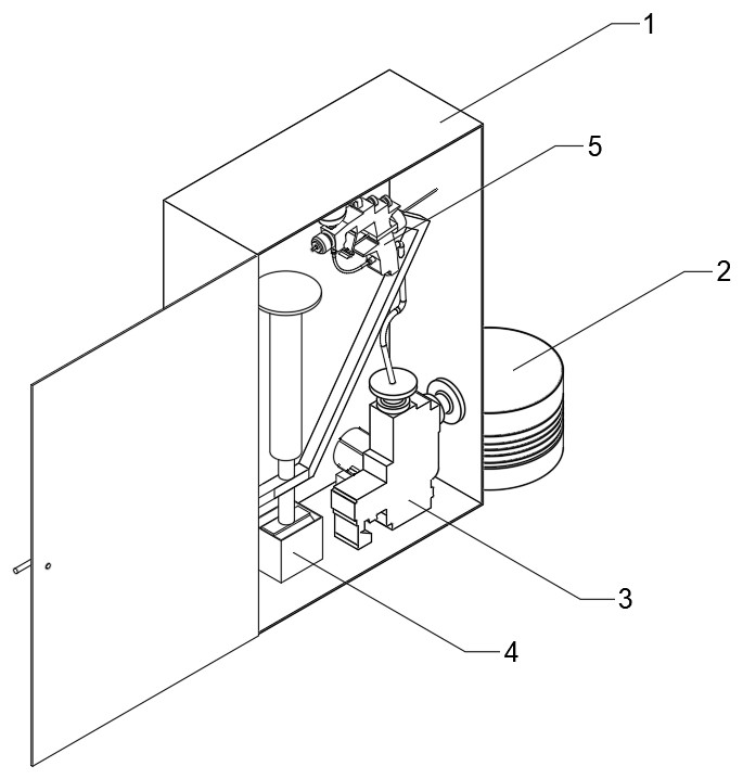
本实用新型涉及鼠标表面修复技术领域,具体为一种鼠标加工表面修复喷涂装置,包括外箱,所述外箱一侧活动安装有油漆桶,所述油漆桶靠近外箱的一侧设有自吸泵组件,且自吸泵组件固定安装于外箱内侧,所述自吸泵组件的左侧固定安装有鼠标旋转组件,所述自吸泵组件的上侧固定安装有喷枪组件。本实用新型通过开启第一电机,油漆桶内的油漆会进入自吸泵组件内,输送至油漆瓶内,从而减少更替油漆瓶的步骤,开启第二电机,转杆转动带动底板固定柱和鼠标底板转动,置于鼠标底板上的鼠标也跟随之转动,此过程可以完成对鼠标表面进行修复。


