授权公布号:CN215579151U
一种十通道门禁设备的专用USB充电接头
有效
申请
2021-07-07
申请公布
1970-01-01
授权
2022-01-18
预估到期
2031-07-07
| 申请号 | CN202121545614.X |
| 申请日 | 2021-07-07 |
| 授权公布号 | CN215579151U |
| 授权公告日 | 2022-01-18 |
| 分类号 | H01R13/02;H01R13/652;H01R13/66;H01R24/00;H01R13/72;H02J7/00 |
| 分类 | 基本电气元件; |
| 申请人名称 | 深圳市纽贝尔电子有限公司 |
| 申请人地址 | 广东省深圳市福田区红荔路2001号四川大厦南附楼五层 |
专利法律状态
2022-01-18
授权
状态信息
授权
摘要
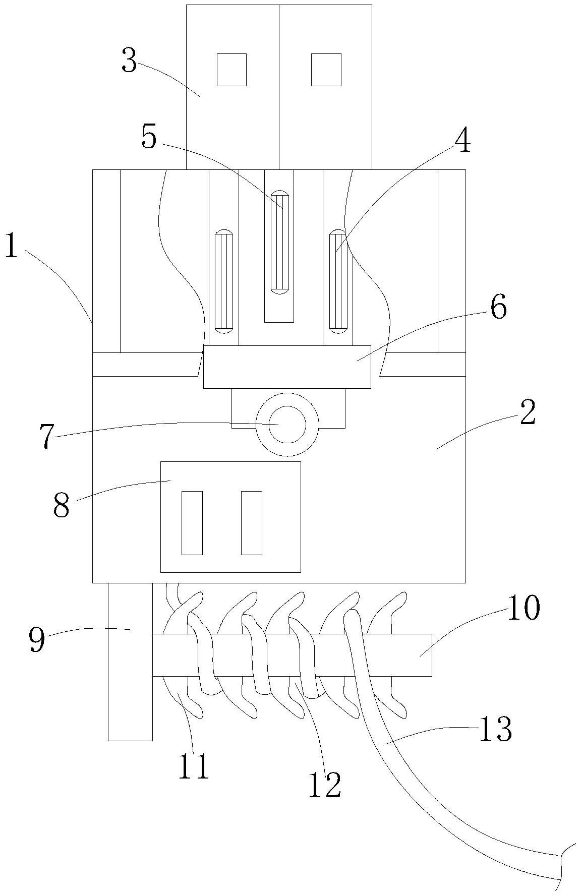
本实用新型涉及门禁设备部件技术领域,公开了一种十通道门禁设备的专用USB充电接头,包括壳体,所述壳体内设置有绝缘基座,所述绝缘基座的一端设置有插接头,所述插接头延伸至壳体的外部,且所述插接头的一端两侧连接有充电电源pin,所述充电电源pin的一端连接有连接座,所述连接座上设置有稳压输出器,所述稳压输出器的一侧设置有变频器,所述变频器的输入端设置有连接线,所述连接线设置在壳体一侧的收线机构上,且末端与外接电源相连接。本实用新型通过在绝缘基座上设置了多个充电电源pin,从而提升了USB充电接头的电源输出量,这样插接头连接在门禁设备上实现充电,提高了充电效率,保证了十通道门禁设备的正常运行。


