授权公布号:CN217111466U
一种全自动智能锁检测台
有效
申请
2022-04-07
申请公布
1970-01-01
授权
2022-08-02
预估到期
2032-04-07
| 申请号 | CN202220814447.2 |
| 申请日 | 2022-04-07 |
| 授权公布号 | CN217111466U |
| 授权公告日 | 2022-08-02 |
| 分类号 | G01M13/00;G01L5/00;B25H1/08 |
| 分类 | 测量;测试; |
| 申请人名称 | 温州市博克电子有限公司 |
| 申请人地址 | 浙江省温州市瓯海区三溪工业园新棣路8号(第一、二层西首) |
专利法律状态
2022-08-02
授权
状态信息
授权
摘要
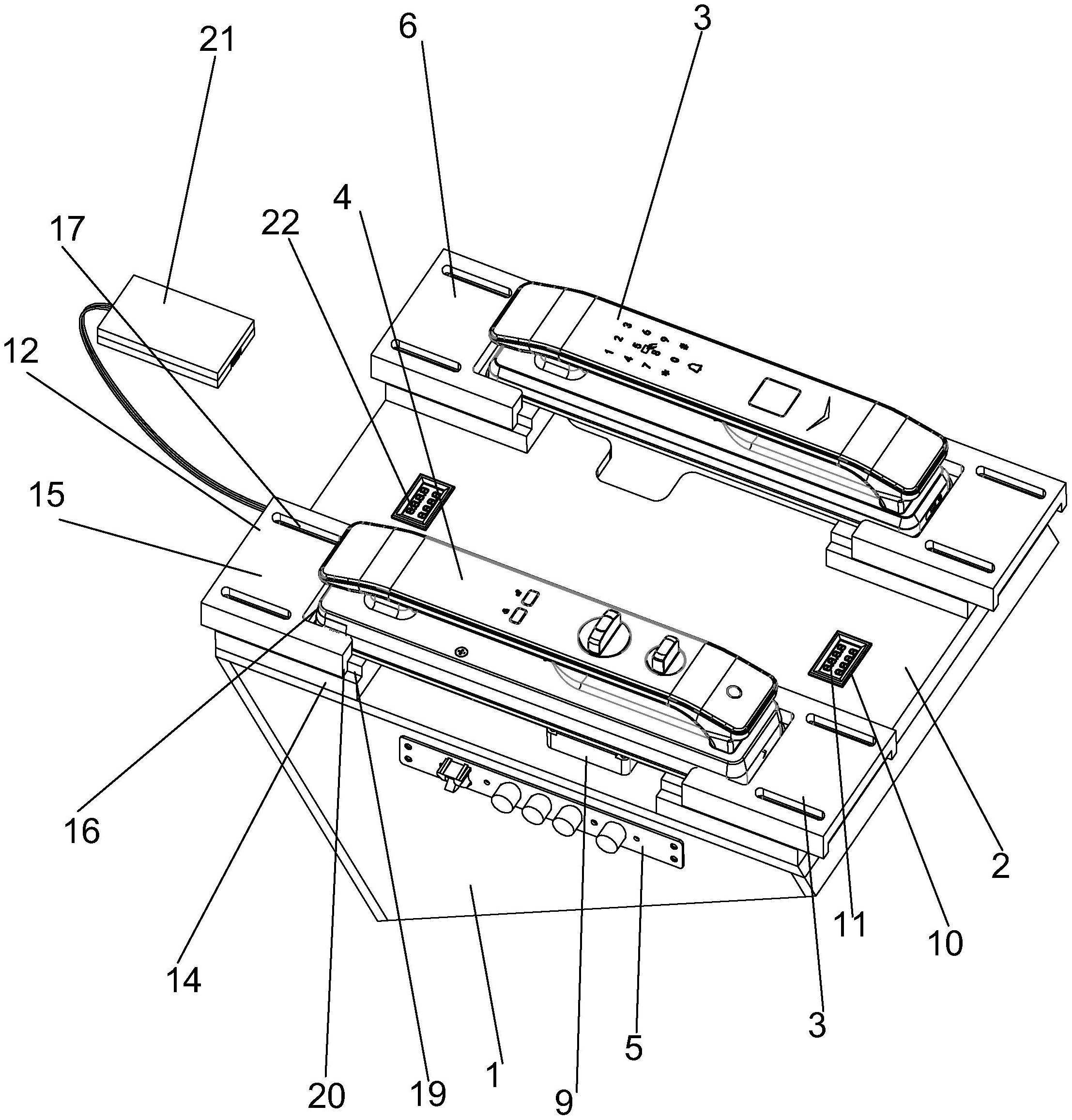
本实用新型涉及一种全自动智能锁检测台,其特征在于:包括工装架以及固定设置在工装架上的放置板,所述放置板的上方固定有前面板总成和后面板总成,本实用新型的有益效果:需要检测的时候,通过启动后面板总成的电机带动锁芯和扭矩传感器进行转动,扭矩传感器将开锁或者关锁时产生的扭力值通过数显扭力表进行显示,方便观察了解各个状态的下的扭力值。


