授权公布号:CN212484397U
一种带人体测温结构的人脸识别机
有效
申请
2020-08-19
申请公布
1970-01-01
授权
2021-02-05
预估到期
2030-08-19
| 申请号 | CN202021771639.7 |
| 申请日 | 2020-08-19 |
| 授权公布号 | CN212484397U |
| 授权公告日 | 2021-02-05 |
| 分类号 | G06K9/00; |
| 分类 | 计算;推算;计数; |
| 申请人名称 | 罗仕拿电子(深圳)有限公司 |
| 申请人地址 | 广东省深圳市南山区西丽百旺信工业区A区1区2号厂房1--5层 |
专利法律状态
2021-02-05
授权
状态信息
授权
摘要
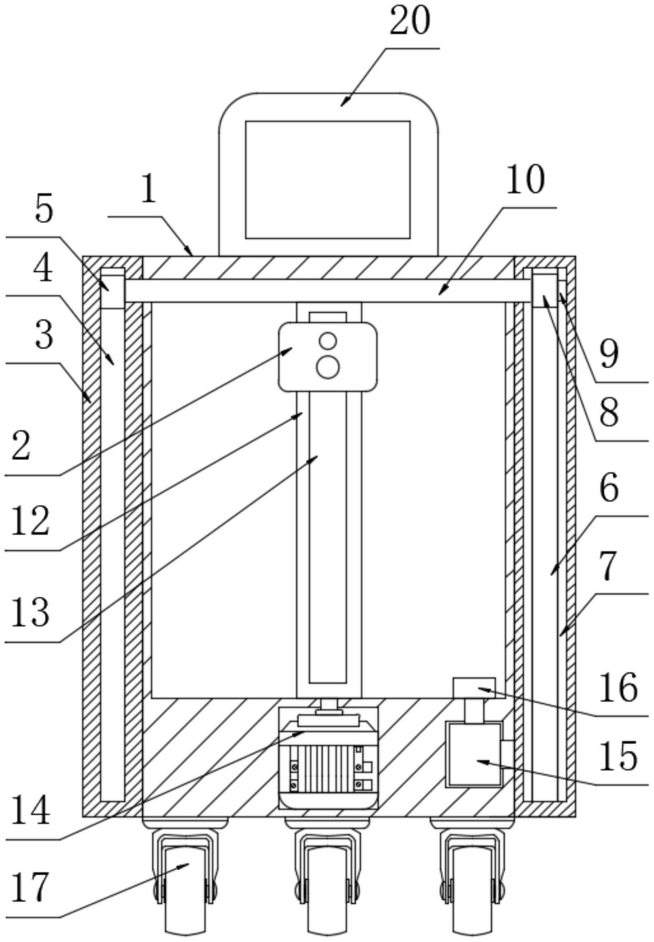
本实用新型公开了一种带人体测温结构的人脸识别机,涉及到人体测温人脸识别领域,包括半圆桶形安装箱和红外线测温人脸识别仪,所述半圆桶形安装箱的两侧均固定安装有安装板,其中一个所述安装板表面固定安装有第一电动滑轨,所述第一电动滑轨的内部滑动连接有第一电动滑块,另一个所述安装板的表面开设有滑槽,所述滑槽的两侧均开设限位滑槽,所述滑槽的内部滑动连接有滑块,所述滑块的两侧均固定安装有限位滑块。本实用新型能够防止透明钢化玻璃在雨水天气或天气寒冷的情况下表面和内部产生水珠和雨水,影响红外线测温人脸识别仪的正常使用,还能够对不同高度的人员进行测温和人脸识别。


