授权公布号:CN212484370U
一种具有防爆结构的触摸式读卡器
有效
申请
2020-08-20
申请公布
1970-01-01
授权
2021-02-05
预估到期
2030-08-20
| 申请号 | CN202021755838.9 |
| 申请日 | 2020-08-20 |
| 授权公布号 | CN212484370U |
| 授权公告日 | 2021-02-05 |
| 分类号 | G06K7/00 |
| 分类 | 计算;推算;计数; |
| 申请人名称 | 罗仕拿电子(深圳)有限公司 |
| 申请人地址 | 广东省深圳市南山区西丽百旺信工业区A区1区2号厂房1--5层 |
专利法律状态
2021-02-05
授权
状态信息
授权
摘要
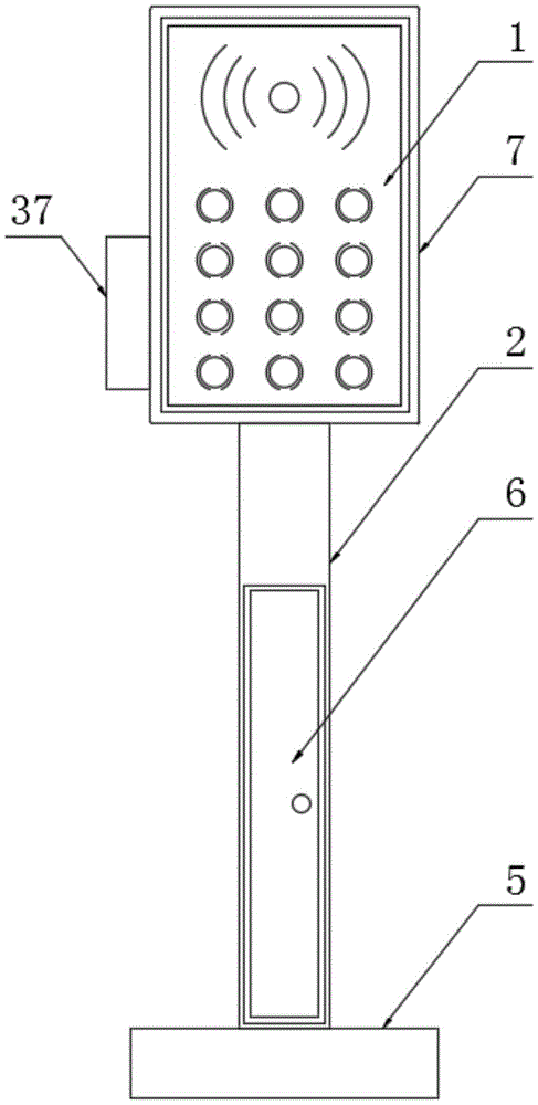
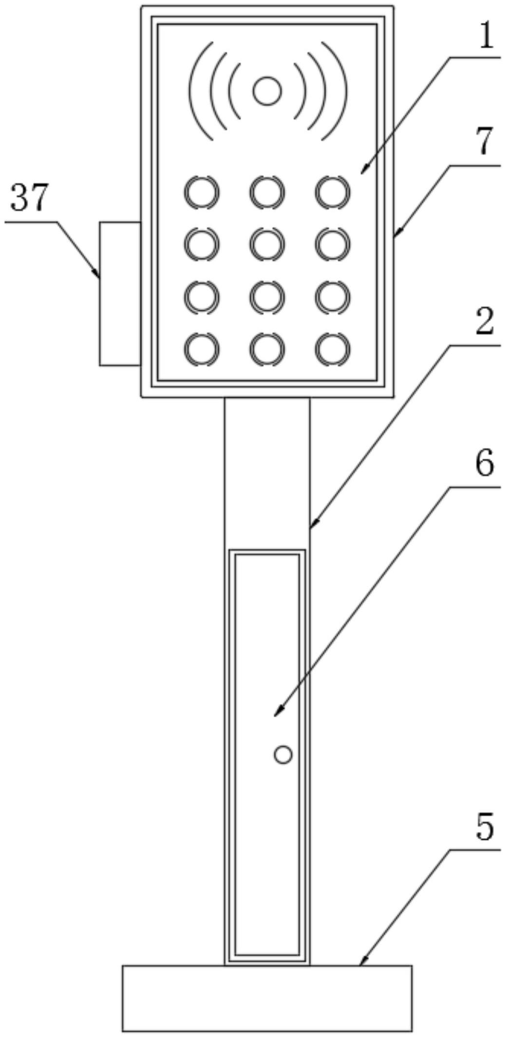
本实用新型公开了一种具有防爆结构的触摸式读卡器,涉及到触摸式读卡器领域,包括读卡器本体,读卡器本体的底部设置有支撑柱,支撑柱内开设有第一凹槽,且第一凹槽内设置有防爆机构;防爆机构包括与第一凹槽侧壁固定连接的灭火筒,灭火筒的顶部固定连通有输气管,输气管的外壁设置有阀门,输气管的顶部固定连接有抽风机,抽风机的外壁与支撑柱的内壁固定连接;抽风机的顶部固定连通有导气管,读卡器本体的底部固定连通有连接管,连接管与导气管相互插接,读卡器本体的左侧固定连接有温度传感器。本实用新型能够有效的避免读卡器本体发生爆裂,提高了使用者的安全性,同时能够方便对读卡器本体进行拆装。


