授权公布号:CN212540750U
一种幕帘式双元红外探测器
有效
申请
2020-08-20
申请公布
1970-01-01
授权
2021-02-12
预估到期
2030-08-20
| 申请号 | CN202021761567.8 |
| 申请日 | 2020-08-20 |
| 授权公布号 | CN212540750U |
| 授权公告日 | 2021-02-12 |
| 分类号 | G01V8/10; |
| 分类 | 测量;测试; |
| 申请人名称 | 罗仕拿电子(深圳)有限公司 |
| 申请人地址 | 广东省深圳市南山区西丽百旺信工业区A区1区2号厂房1--5层 |
专利法律状态
2021-02-12
授权
状态信息
授权
摘要
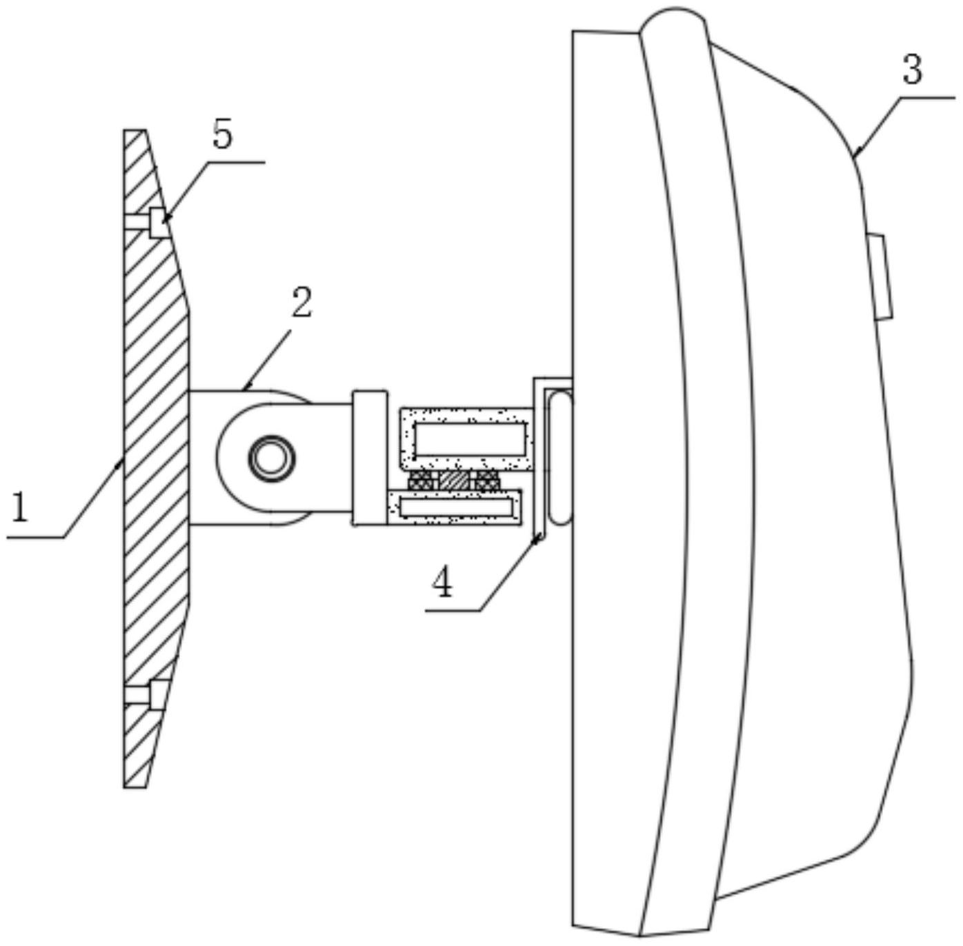
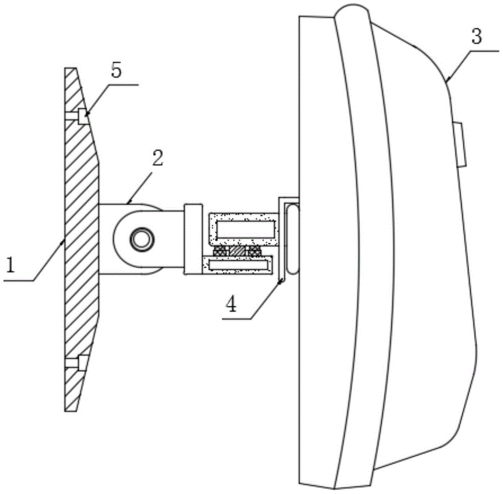
本实用新型公开了一种幕帘式双元红外探测器,涉及到红外探测器技术领域,包括底座,所述底座侧面设置有支架组件;所述支架组件包括侧边板A,所述侧边板A侧面中心处通过轴承活动嵌套设置有连接轴A,所述连接轴A远离侧边板A的一端固定设置有侧边板B,所述侧边板B端部固定设置有连接板,所述连接板侧面底部固定设置有底板,所述底板顶部中心处通过轴承活动嵌套设置有连接轴B,所述连接轴B远离底板的一端固定设置有顶板。本实用新型调节过程较为简单,调节时无需进行重新安装,实际使用更加方便,同时可以有效避免调节后侧边板B或顶板发生移动的情况,保证了探测器主体的调节准确度。


