授权公布号:CN209213184U
阀杆下端部防卡死的增滑结构
有效
申请
2018-11-30
申请公布
1970-01-01
授权
2019-08-06
预估到期
2028-11-30
| 申请号 | CN201821997809.6 |
| 申请日 | 2018-11-30 |
| 授权公布号 | CN209213184U |
| 授权公告日 | 2019-08-06 |
| 分类号 | F16K51/00 |
| 分类 | 工程元件或部件;为产生和保持机器或设备的有效运行的一般措施;一般绝热; |
| 申请人名称 | 江南阀门有限公司 |
| 申请人地址 | 浙江省温州市龙湾区机场大道616号 |
专利法律状态
2019-08-06
授权
状态信息
授权
摘要
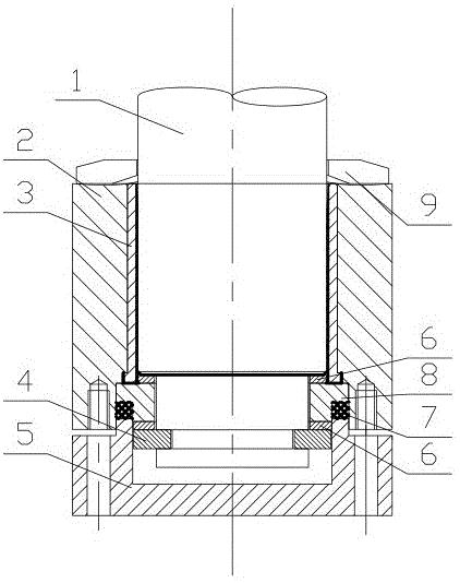
本实用新型公开了一种阀杆下端部防卡死的增滑结构,其包括穿设在阀体内的阀杆,所述阀体底部设有法兰盖,所述阀杆外通过轴承与阀体连接,所述阀杆末端依次设置止推垫和对开环,并在止推垫上下两侧分别设置防卡增滑垫,上侧的防卡增滑垫设置在止推垫与阀杆之间,下侧的防卡增滑垫设置在止推垫与对开环之间,防卡增滑垫能有效防止止推垫的静止面与对开环受挤压而擦伤、咬死。


