授权公布号:CN214633483U
用于通用紧急报警系统的报警电源箱结构
有效
申请
2021-03-08
申请公布
1970-01-01
授权
2021-11-09
预估到期
2031-03-08
| 申请号 | CN202120489587.2 |
| 申请日 | 2021-03-08 |
| 授权公布号 | CN214633483U |
| 授权公告日 | 2021-11-09 |
| 分类号 | A62C3/16;A62C35/10;H02B1/28;H02B1/52;H02B1/46;H02B1/48 |
| 分类 | 救生;消防; |
| 申请人名称 | 杭州华雁数码电子有限公司 |
| 申请人地址 | 浙江省杭州市萧山区经济开发区鸿发路318号 |
专利法律状态
2021-11-09
授权
状态信息
授权
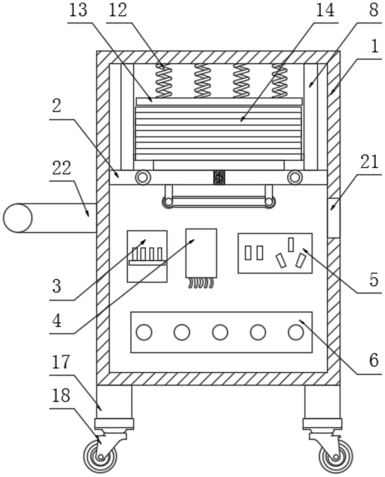
摘要
本实用新型公开了用于通用紧急报警系统的报警电源箱结构,涉及到电源箱安全防护领域,包括电源箱,所述电源箱的内侧固定安装有隔板,所述电源箱的内部后侧固定安装有断路器、保护装置、插座,接线座,所述电源箱的前侧通过转轴转动连接有箱门,所述隔板的顶部两侧均固定安装有限位板,所述隔板的内部开设有矩形口,所述矩形口的内部两侧均通过铰链转动连接有翻板,两个所述翻板的底部均固定安装有U形连接件,两个所述U形连接件之间通过连接绳连接。本实用新型能够在装置内部燃起明火时快速对装置内部的明火进行扑灭,防止发生严重火灾,造成财产和人员伤亡,还能够便于对装置进行移动。


