授权公布号:CN212564473U
燃气系统的值班气控制阀
有效
申请
2020-08-24
申请公布
1970-01-01
授权
2021-02-19
预估到期
2030-08-24
| 申请号 | CN202021785989.9 |
| 申请日 | 2020-08-24 |
| 授权公布号 | CN212564473U |
| 授权公告日 | 2021-02-19 |
| 分类号 | F16K3/24; |
| 分类 | 工程元件或部件;为产生和保持机器或设备的有效运行的一般措施;一般绝热; |
| 申请人名称 | 江南阀门有限公司 |
| 申请人地址 | 浙江省温州市机场大道616号 |
专利法律状态
2021-02-19
授权
状态信息
授权
摘要
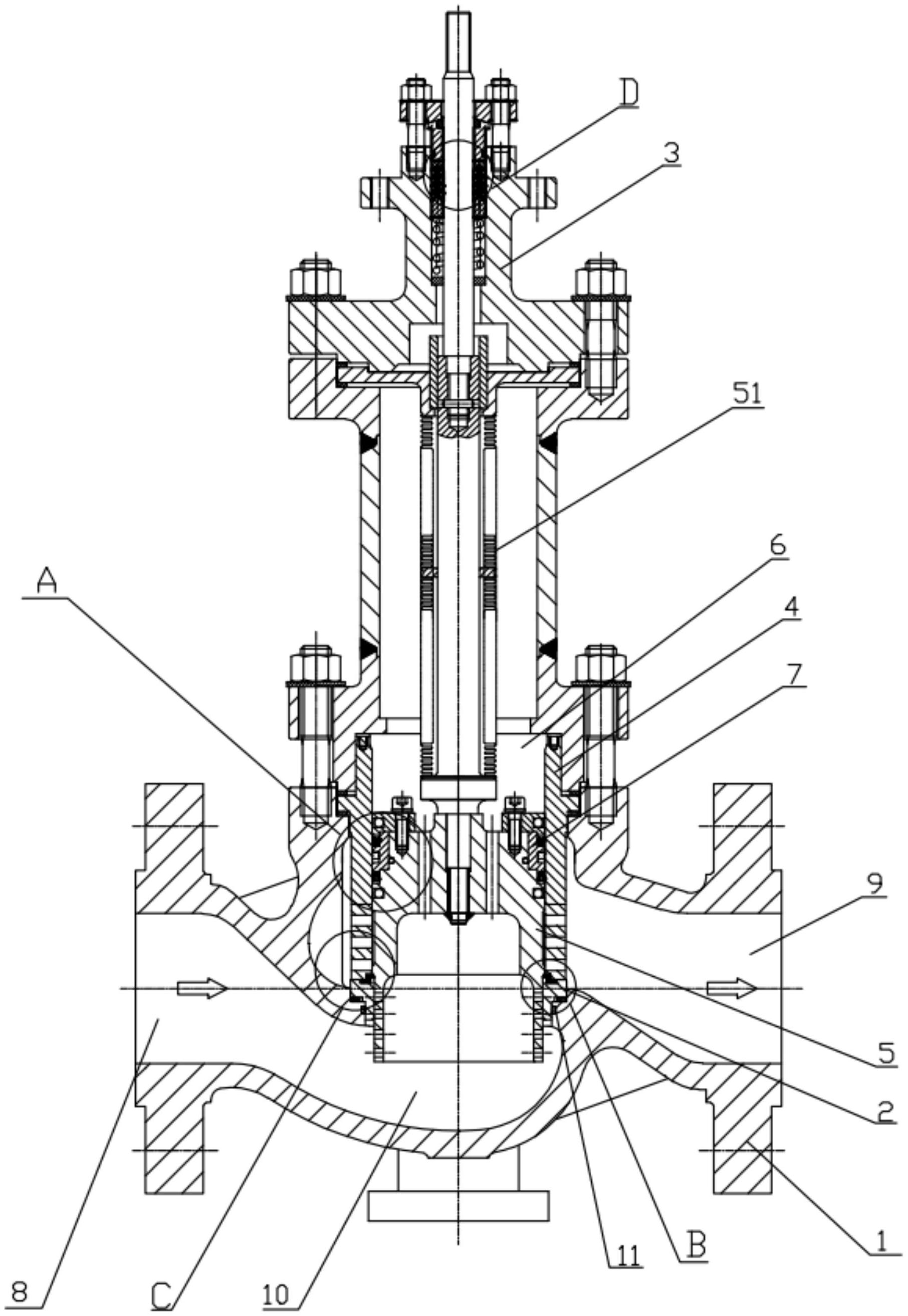
一种燃气系统的值班气控制阀,包括阀体、阀座、阀盖、套筒、阀芯以及波纹管组件,套筒安装在安装腔内且套装在所述阀座外部,阀体的两端开设进口与出口形成输送通道,阀芯与阀座之间设置双密封结构,所述阀芯与套筒之间设置正向密封件与反向密封件,所述正向密封件包括第一格莱圈、正向平衡密封圈、星型圈,反向密封件包括反向平衡密封圈与第二格莱圈,正向平衡密封圈设置开口朝上的金属弹簧及O型圈,所述反向平衡密封圈设置开口朝下的金属弹簧及O型圈,所述星型圈具有凸出的密封部,所述密封部与内衬套、套筒密封相接。本实用新型设置双向密封结构,能够实现正向压力与反向全压下的零泄漏。


