授权公布号:CN214222034U
一种具有自动补偿功能的超低温硬密封蝶阀
有效
申请
2020-12-09
申请公布
1970-01-01
授权
2021-09-17
预估到期
2030-12-09
| 申请号 | CN202022932409.0 |
| 申请日 | 2020-12-09 |
| 授权公布号 | CN214222034U |
| 授权公告日 | 2021-09-17 |
| 分类号 | F16K1/22;F16K1/226 |
| 分类 | 工程元件或部件;为产生和保持机器或设备的有效运行的一般措施;一般绝热; |
| 申请人名称 | 江南阀门有限公司 |
| 申请人地址 | 浙江省温州市温州机场大道616号 |
专利法律状态
2021-09-17
授权
状态信息
授权
摘要
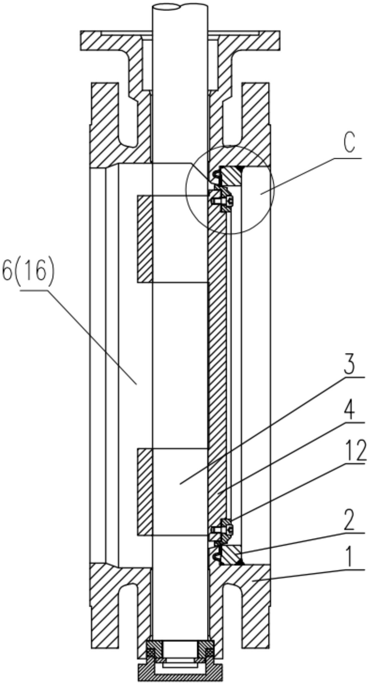
一种具有自动补偿功能的超低温硬密封蝶阀,包括阀体、阀座、阀杆、蝶板,所述蝶板具有密封面,蝶板安装在阀腔内与阀杆连接且能够在一个关闭位置与一个打开位置间枢转,阀体与阀座之间设置有自适应式密封结构,所述自适应式密封结构具有至少一个连接部,以及至少一个自适应调节部,所述连接部与蝶板的密封面相对,所述弹性预压力使得自适应式密封结构能够沿着阀杆的轴向伸缩,当蝶板位于关闭状态时,所述自适应调节部收缩并积蓄弹性势能使得所述连接部与蝶板的密封面密封相接。本实用新型具有自动补偿功能的自适应式密封结构,密封副磨损时仍能保持良好的密封效果。


