授权公布号:CN216479770U
一种网络录播高清监视器
有效
申请
2021-10-29
申请公布
1970-01-01
授权
2022-05-10
预估到期
2031-10-29
| 申请号 | CN202122624511.9 |
| 申请日 | 2021-10-29 |
| 授权公布号 | CN216479770U |
| 授权公告日 | 2022-05-10 |
| 分类号 | F16M11/04;F16M11/10;F16M11/18;F16M13/02 |
| 分类 | 工程元件或部件;为产生和保持机器或设备的有效运行的一般措施;一般绝热; |
| 申请人名称 | 深圳市安立信电子有限公司 |
| 申请人地址 | 广东省深圳市宝安区西乡街道龙珠社区润东晟工业园4栋7层 |
专利法律状态
2022-05-10
授权
状态信息
授权
摘要
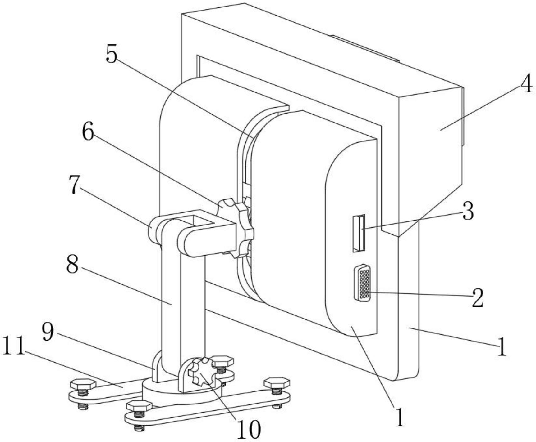
本实用新型公开了一种网络录播高清监视器,包括显示屏,所述显示屏前端固定连接有后盖,所述后盖右端上部固定连接有电源接口,所述后盖右端下部固定连接有视频接口,所述后盖前端开有滑槽,所述滑槽内卡接有角度调节装置,所述角度调节装置前端固定连接有连接块,所述连接块通过转轴活动连接有支撑柱,所述支撑柱右端下部穿插活动连接有调节螺栓,所述调节螺栓外表面左部和外表面右部均螺纹连接有连接板,两个所述连接板下端共同固定连接有固定安装座,所述显示屏上端卡接有遮光装置。本实用新型所述的一种网络录播高清监视器,安装效率高,固定效果好,稳定性高,适合网络录播的使用。


