授权公布号:CN210244298U
易维修式不间断电源
有效
申请
2019-08-14
申请公布
1970-01-01
授权
2020-04-03
预估到期
2029-08-14
| 申请号 | CN201921321262.2 |
| 申请日 | 2019-08-14 |
| 授权公布号 | CN210244298U |
| 授权公告日 | 2020-04-03 |
| 分类号 | G06F1/30 |
| 分类 | 计算;推算;计数; |
| 申请人名称 | 深圳市宝安任达电器实业有限公司 |
| 申请人地址 | 广东省深圳市宝安区石岩街道机荷高速立交北侧、松白公路西侧 |
专利法律状态
2020-04-03
授权
状态信息
授权
摘要
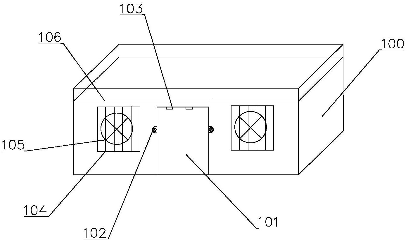
本实用新型提供了一种易维修式不间断电源,包括电容箱与柜体;柜体设有容纳电容箱的柜体凹槽。本实用新型的有益效果在于,无需打开柜体,可以直接卸下电容盒,不容易损坏主板,降低物料成本;更换电容的难度较低,减少此项培训费用,变向降低人力资源成本;同时,也可以便捷、快速地移出损坏的电容箱,减少更换易维修式不间断电源内的电容的时间,缩短电路缺少本实用新型保护的时间,降低更换电容箱时突然断电的风险,避免经济损失。


