授权公布号:CN207475197U
有源电力滤波器
有效
申请
2017-09-05
申请公布
1970-01-01
授权
2018-06-08
预估到期
2027-09-05
| 申请号 | CN201721129918.1 |
| 申请日 | 2017-09-05 |
| 授权公布号 | CN207475197U |
| 授权公告日 | 2018-06-08 |
| 分类号 | H02J3/01 |
| 分类 | 发电、变电或配电; |
| 申请人名称 | 韦德电子有限公司 |
| 申请人地址 | 浙江省温州市乐清市北白象镇温州大桥工业园区 |
专利法律状态
2018-06-08
授权
状态信息
授权
摘要
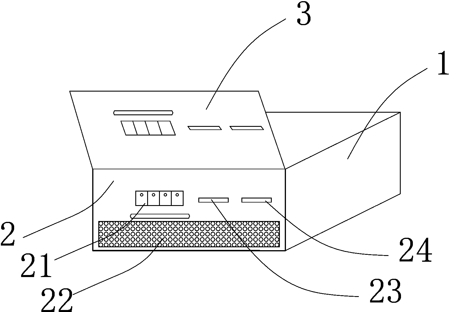
有源电力滤波器,包括滤波器主体,滤波器主体包括侧面,所述的侧面上设置有机箱进线端子、输入接线端子和电缆端口,所述的滤波器主体铰接设置有盖板,所述的盖板上设置有电缆端口堵头、机箱进线端子堵头、输入接线端子堵头,所述的电缆端口堵头内还设置有套筒轴。本实用新型具有以下有益效果:运输过程中,旋转盖板,通过有电缆端口堵头、机箱进线端子堵头、输入接线端子堵头进行封闭,打开后拉出套筒轴,增强接收信号能力。


