授权公布号:CN213206622U
天然气紧急关断阀
有效
申请
2020-08-24
申请公布
1970-01-01
授权
2021-05-14
预估到期
2030-08-24
| 申请号 | CN202021785987.X |
| 申请日 | 2020-08-24 |
| 授权公布号 | CN213206622U |
| 授权公告日 | 2021-05-14 |
| 分类号 | F16K3/24;F16K3/30;F16K3/314;F16K41/10 |
| 分类 | 工程元件或部件;为产生和保持机器或设备的有效运行的一般措施;一般绝热; |
| 申请人名称 | 江南阀门有限公司 |
| 申请人地址 | 浙江省温州市机场大道616号 |
专利法律状态
2021-05-14
授权
状态信息
授权
摘要
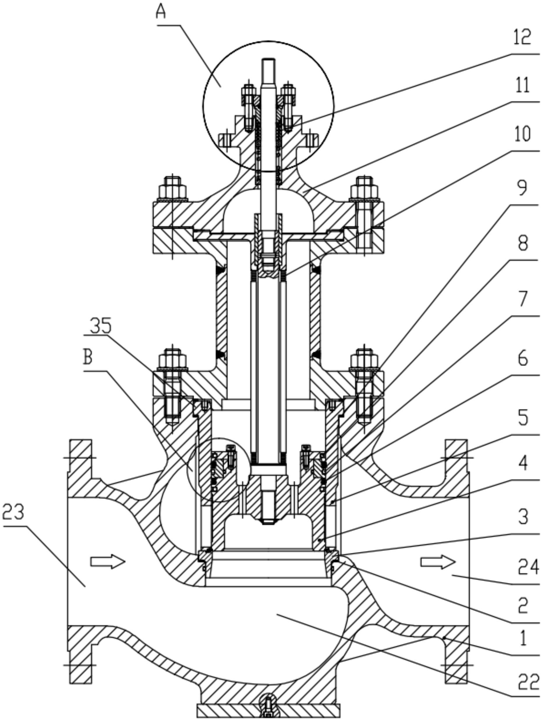
本实用新型提供一种天然气紧急关断阀,包括阀体、中桶和阀盖,阀盖设置在中桶上方,阀体设置在中桶下方,阀体和阀盖均与中桶连接,阀体内部形成阀腔,阀腔两侧设置进料口和出料口,阀腔内设置阀座和阀芯,阀盖上设置阀杆,阀杆贯穿阀盖与中桶伸入阀腔与阀芯连接,阀盖与阀杆之间形成填料槽,填料槽内设置填料,阀杆上设置波纹管部件,波纹管部件与阀杆连接,阀芯与阀体之间形成安装腔,安装腔内设置套筒,套筒一侧连接阀体内壁,另一侧连接阀芯,套筒与阀芯形成密封腔,密封腔内设置密封组件,阀腔内设置阀座,阀座与阀体、阀芯之间设置密封圈。


