授权公布号:CN115236904B
液晶透镜单元、液晶透镜装置及制作方法
有效
申请
2022-08-02
申请公布
2022-10-25
授权
2024-03-19
预估到期
2042-08-02
| 申请号 | CN202210923882.3 |
| 申请日 | 2022-08-02 |
| 申请公布号 | CN115236904A |
| 申请公布日 | 2022-10-25 |
| 授权公布号 | CN115236904B |
| 授权公告日 | 2024-03-19 |
| 分类号 | G02F1/1343;G02F1/1333 |
| 分类 | 光学; |
| 申请人名称 | 联创电子科技股份有限公司 |
| 申请人地址 | 江西省南昌市南昌高新技术产业开发区京东大道1699号 |
专利法律状态
2024-03-19
授权
状态信息
授权
2022-11-11
实质审查的生效
状态信息
实质审查的生效;IPC(主分类):G02F1/1343;申请日:20220802
2022-10-25
公布
状态信息
公布
摘要
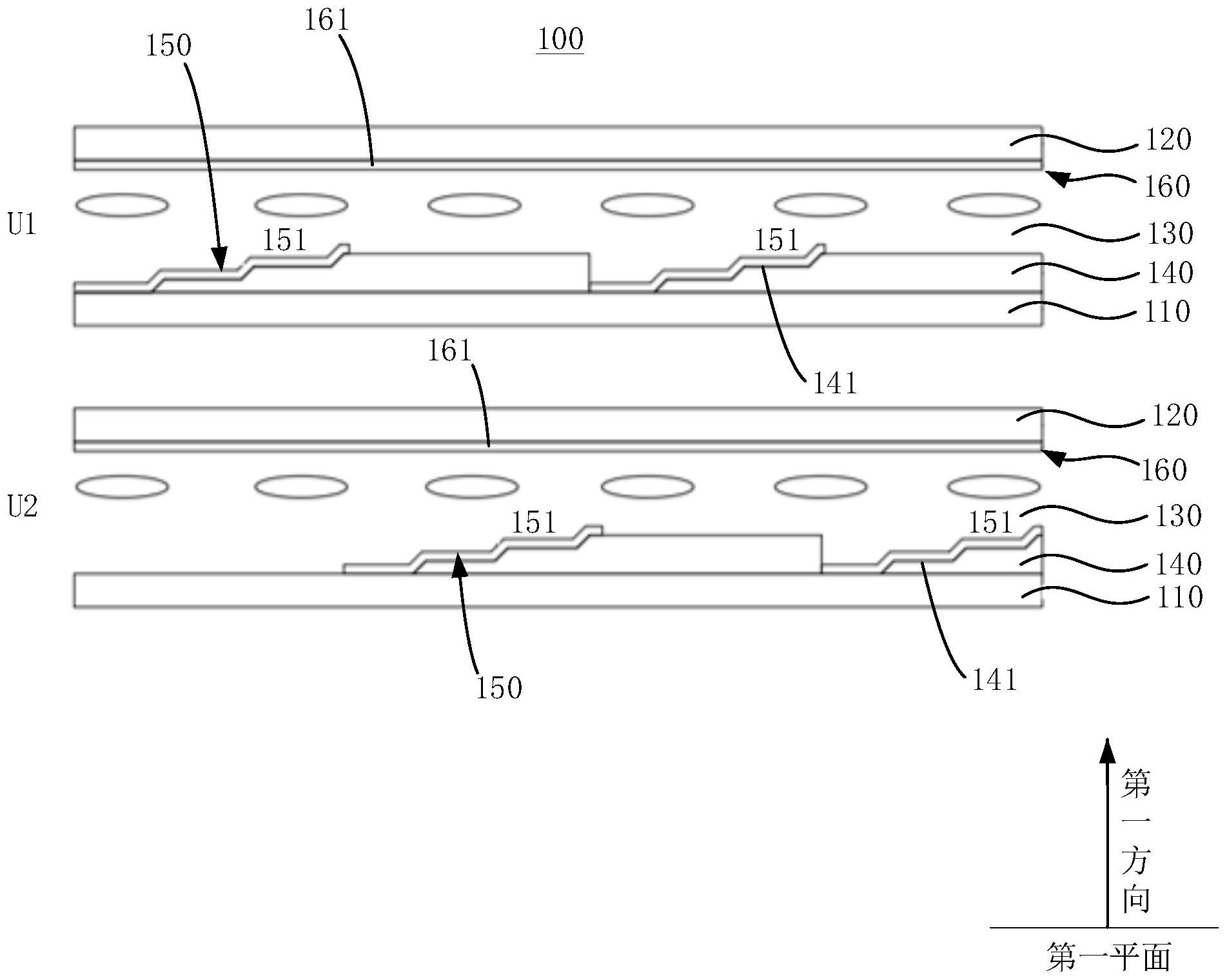
本发明提供了一种液晶透镜单元、液晶透镜装置及制作方法。液晶透镜单元包括:第一透明基板;第二透明基板;液晶层;第一介电层,设置在第一透明基板靠近第二透明基板的一侧,第一介电层具有多个坡面;第一电极层,包括多个第一电极,多个第一电极分别对应设置于多个坡面,第一电极在第一透明基板上的投影为圆或同心圆环;第二电极层。液晶透镜装置,包括两个如上的液晶透镜单元,两个液晶透镜单元沿第一方向层叠设置,两个液晶透镜单元中的第一电极在与第一方向垂直的第一平面内的投影互相交替。通过在第一介电层上设置坡面,并将第一电极对应设置在坡面上,可以制作出尺寸更大的液晶透镜装置,提高液晶透镜装置的衍射效率。


