授权公布号:CN204242883U
一种仿翘板开关手感的遥控墙壁开关
有效
申请
2014-12-15
申请公布
1970-01-01
授权
2015-04-01
预估到期
2024-12-15
| 申请号 | CN201420790242.0 |
| 申请日 | 2014-12-15 |
| 授权公布号 | CN204242883U |
| 授权公告日 | 2015-04-01 |
| 分类号 | H01H13/14;H01H13/02 |
| 分类 | 基本电气元件; |
| 申请人名称 | 青岛澳格纳电子技术有限责任公司 |
| 申请人地址 | 山东省青岛市保税区汉城路13号 |
专利法律状态
2015-04-01
授权
状态信息
授权
摘要
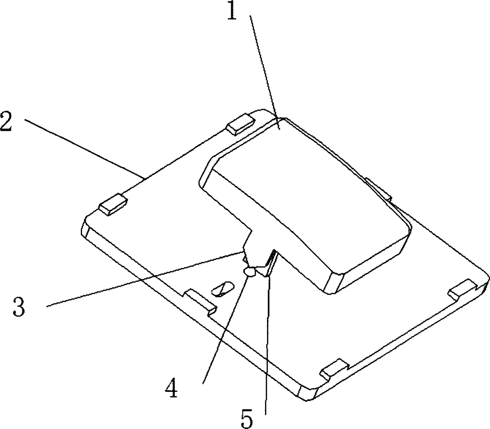
本实用新型提供了一种仿翘板开关手感的遥控墙壁开关,包括遥控装置和机械控制装置,所述机械控制装置包括按键和基座,所述按键两侧中至少有一侧设有劈尖,按键内侧设有装配轴,按键通过装配轴可转动装配在基座的轴支架上,开关置于打开或关闭位置时,所述劈尖通过基座上的弹性支撑装置固定,开关置于打开位置时,按键一侧能够触发设置于基座上的行程开关,所述的行程开关连接至电子开关电路。该开关通过增加类似翘板开关的机构和使用行程开关实现了具有翘板开关手感的遥控墙壁开关,同时该开关结构和装配工艺简单,易于生产。


