授权公布号:CN218599302U
便携式双屏显示器
有效
申请
2022-11-28
申请公布
1970-01-01
授权
2023-03-10
预估到期
2032-11-28
| 申请号 | CN202223162947.1 |
| 申请日 | 2022-11-28 |
| 授权公布号 | CN218599302U |
| 授权公告日 | 2023-03-10 |
| 分类号 | F16M11/08;F16M11/10;F16M11/12;F16M11/24;G09F9/30 |
| 分类 | 工程元件或部件;为产生和保持机器或设备的有效运行的一般措施;一般绝热; |
| 申请人名称 | 深圳市科欧斯电子有限公司 |
| 申请人地址 | 广东省深圳市龙岗区横岗街道四联社区228工业区48号2C栋501A |
专利法律状态
2023-03-10
授权
状态信息
授权
摘要
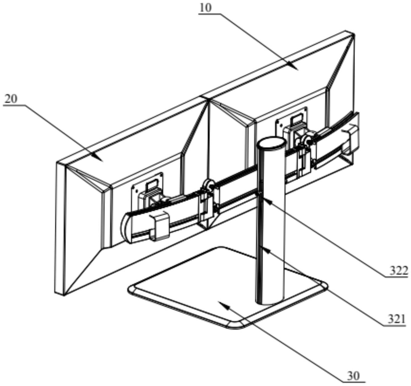
本实用新型涉及显示设备技术领域,特别涉及便携式双屏显示器,支撑主梁的两端对称连接有支撑次梁,每一支撑次梁上滑动连接有支撑U形板,支撑次梁呈水平设置,支撑U形板可沿支撑次梁来回滑动,支撑U形板外侧通过螺丝固定有支撑U形架,支撑U形架上通过竖向的第一转轴连接有第一转动座,第一转动座可绕第一转轴左右转动,第一转动座上通过横向的第二转轴连接有第二转动座,第二转动座可绕第二转轴上下转动,第一显示屏和第二显示屏连接于第二转动座上。与现有技术相比,本实用新型的便携式双屏显示器可实现多维度调节显示屏角度,以满足用户更多样角度的显示需求,提高用户的使用体验感。


