授权公布号:CN214956321U
一种变压器的顶部风箱散热结构
有效
申请
2021-07-13
申请公布
1970-01-01
授权
2021-11-30
预估到期
2031-07-13
| 申请号 | CN202121572603.0 |
| 申请日 | 2021-07-13 |
| 授权公布号 | CN214956321U |
| 授权公告日 | 2021-11-30 |
| 分类号 | H01F27/08;H01F27/16;B01D53/26 |
| 分类 | 基本电气元件; |
| 申请人名称 | 上海优比施电子科技有限公司 |
| 申请人地址 | 上海市金山区枫泾镇新华村4081号-10 |
专利法律状态
2021-11-30
授权
状态信息
授权
摘要
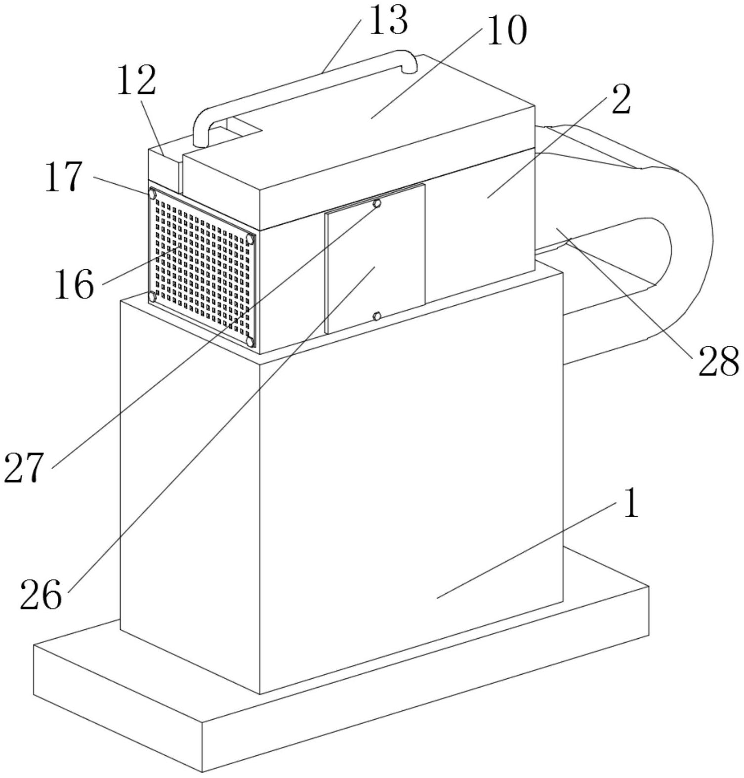
本实用新型涉及变压器的顶部风箱散热技术领域,具体为一种变压器的顶部风箱散热结构,包括变压器主体,所述变压器主体的顶端设置有散热箱,所述散热箱的一端开设有进风口。当用户使用本装置时,集流件内部的清水通过水泵可进入水箱的内部,水箱内部的清水通过分流件进入降温管的内部,降温管可将自身周围的空气进行降温,当扇叶的一端产生吸力,将降温管降温后的空气吸走,通过干燥机构进行干燥,然后在通过风管吹向变压器主体的内部,从而对变压器主体的内部进行降温,本装置通过对空气进行降温,降温后的空气再对变压器主体进行降温,从而提高了对变压器主体的降温效果,防止变压器主体内部因过热而老化,进而的提高了变压器主体的使用寿命。


