授权公布号:CN215497656U
一种UPS电源控制柜
有效
申请
2021-06-28
申请公布
1970-01-01
授权
2022-01-11
预估到期
2031-06-28
| 申请号 | CN202121429864.7 |
| 申请日 | 2021-06-28 |
| 授权公布号 | CN215497656U |
| 授权公告日 | 2022-01-11 |
| 分类号 | H02B1/30;H02B1/32;H02B1/56;H02B1/28;H02J9/06 |
| 分类 | 发电、变电或配电; |
| 申请人名称 | 上海优比施电子科技有限公司 |
| 申请人地址 | 上海市金山区枫泾镇新华村4081号-10 |
专利法律状态
2022-01-11
授权
状态信息
授权
摘要
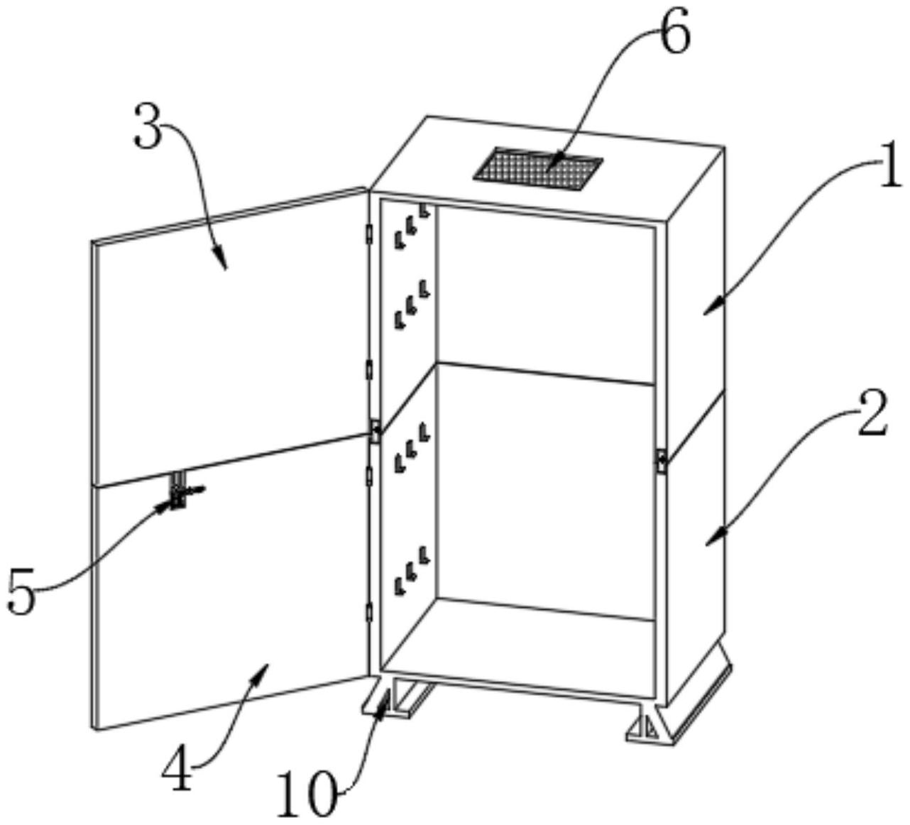
本实用新型公开了一种UPS电源控制柜,具体涉及电气设备技术领域,包括上柜体和下柜体,所述上柜体前端活动安装有第一单开门,所述下柜体前端活动安装有第二单开门,所述第二单开门靠近下柜体的一端上部设置有活动连接机构,所述上柜体的左侧柜壁和右侧柜壁下端均开设有T形槽,所述下柜体的左侧柜壁和右侧柜壁上端均固定安装有T型滑板,所述上柜体与下柜体的连接处均设置有连接。本实用新型所述的一种UPS电源控制柜,通过T形槽和T型滑板配合,能够实现上柜体与下柜体之间的安装和拆卸,通过设置有活动连接机构,能够实现第一单开门与第二单开门的同步开启和闭合,其操作简单便捷,便于进行转运,降低了工人劳动强度。


