授权公布号:CN208444423U
一种带有快捷按键报警功能的双向紧急报警装置
有效
申请
2018-07-26
申请公布
1970-01-01
授权
2019-01-29
预估到期
2028-07-26
| 申请号 | CN201821195111.2 |
| 申请日 | 2018-07-26 |
| 授权公布号 | CN208444423U |
| 授权公告日 | 2019-01-29 |
| 分类号 | G08B25/12;G08B25/10 |
| 分类 | 信号装置; |
| 申请人名称 | 东莞市乐普电子技术有限公司 |
| 申请人地址 | 广东省东莞市南城区新基长生水工业区龙泉路17号 |
专利法律状态
2019-01-29
授权
状态信息
授权
摘要
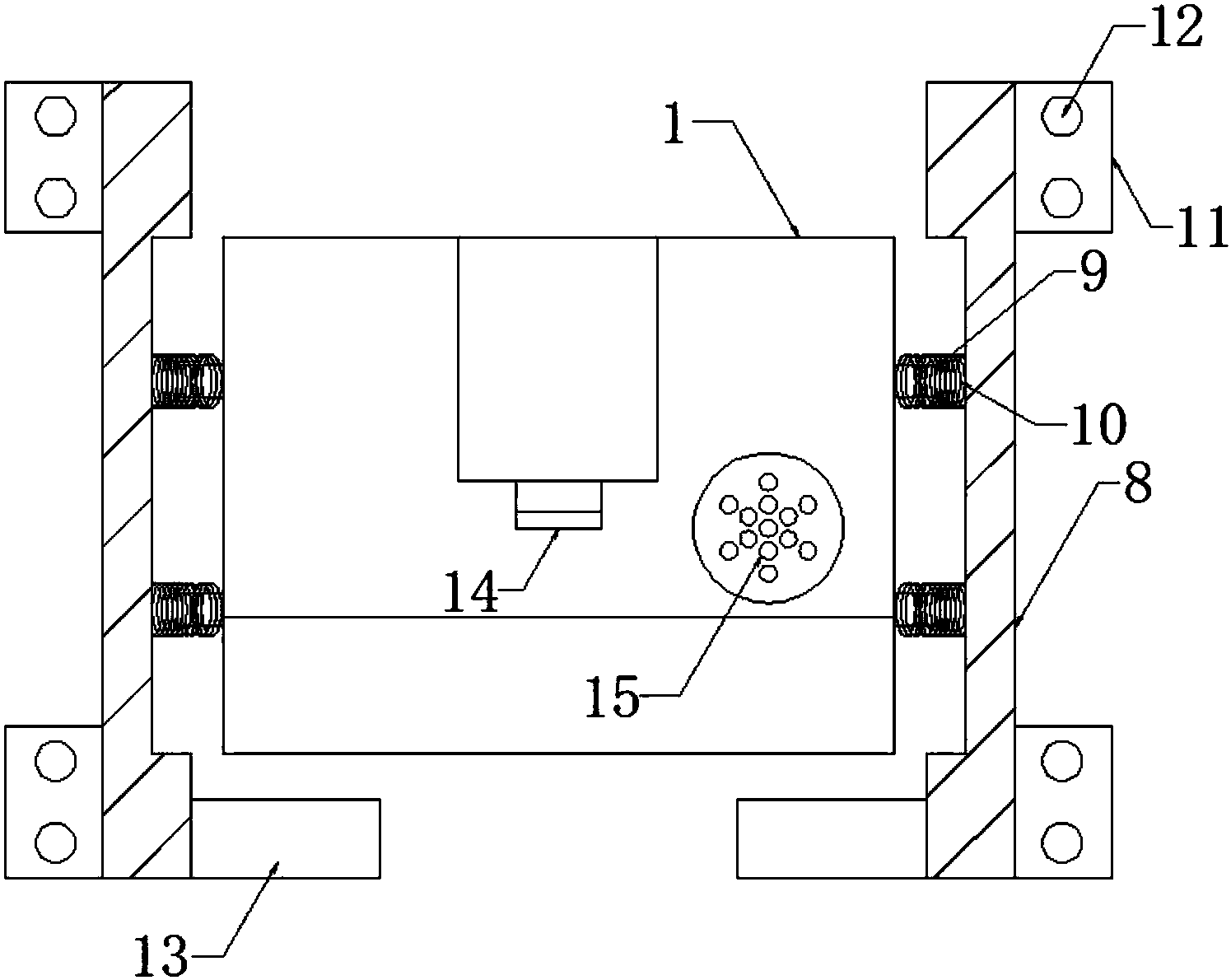
本实用新型公开了一种带有快捷按键报警功能的双向紧急报警装置,包括支架和机盒,两个支架两侧的两端均设有固定板,四个固定板顶端开设有螺纹通孔,两个支架另外两侧的中部均开设有第一凹槽,两个第一凹槽一侧内壁的中部均设有两个缓冲杆,四个缓冲杆的一端分别与机盒两侧的两端固定连接,机盒顶端的一侧开设有第二凹槽,本实用新型一种带有快捷按键报警功能的双向紧急报警装置,通过在机盒两侧的中部设有缓冲杆,且缓冲杆上均套设有的减震弹簧,可以减小横向方向的震动,在支架一侧底部设有的泡沫座,可以减小纵向方向的震动,从而能够保护机盒;通过设有的FM无线调频接受器,可以接收由中心控制平台下发的紧急事件通告。


