授权公布号:CN208445608U
一种具有一键报警功能的手机
有效
申请
2018-07-26
申请公布
1970-01-01
授权
2019-01-29
预估到期
2028-07-26
| 申请号 | CN201821195860.5 |
| 申请日 | 2018-07-26 |
| 授权公布号 | CN208445608U |
| 授权公告日 | 2019-01-29 |
| 分类号 | H04M1/02;H04M1/725;G08B25/01 |
| 分类 | 电通信技术; |
| 申请人名称 | 东莞市乐普电子技术有限公司 |
| 申请人地址 | 广东省东莞市南城区新基长生水工业区龙泉路17号 |
专利法律状态
2019-01-29
授权
状态信息
授权
摘要
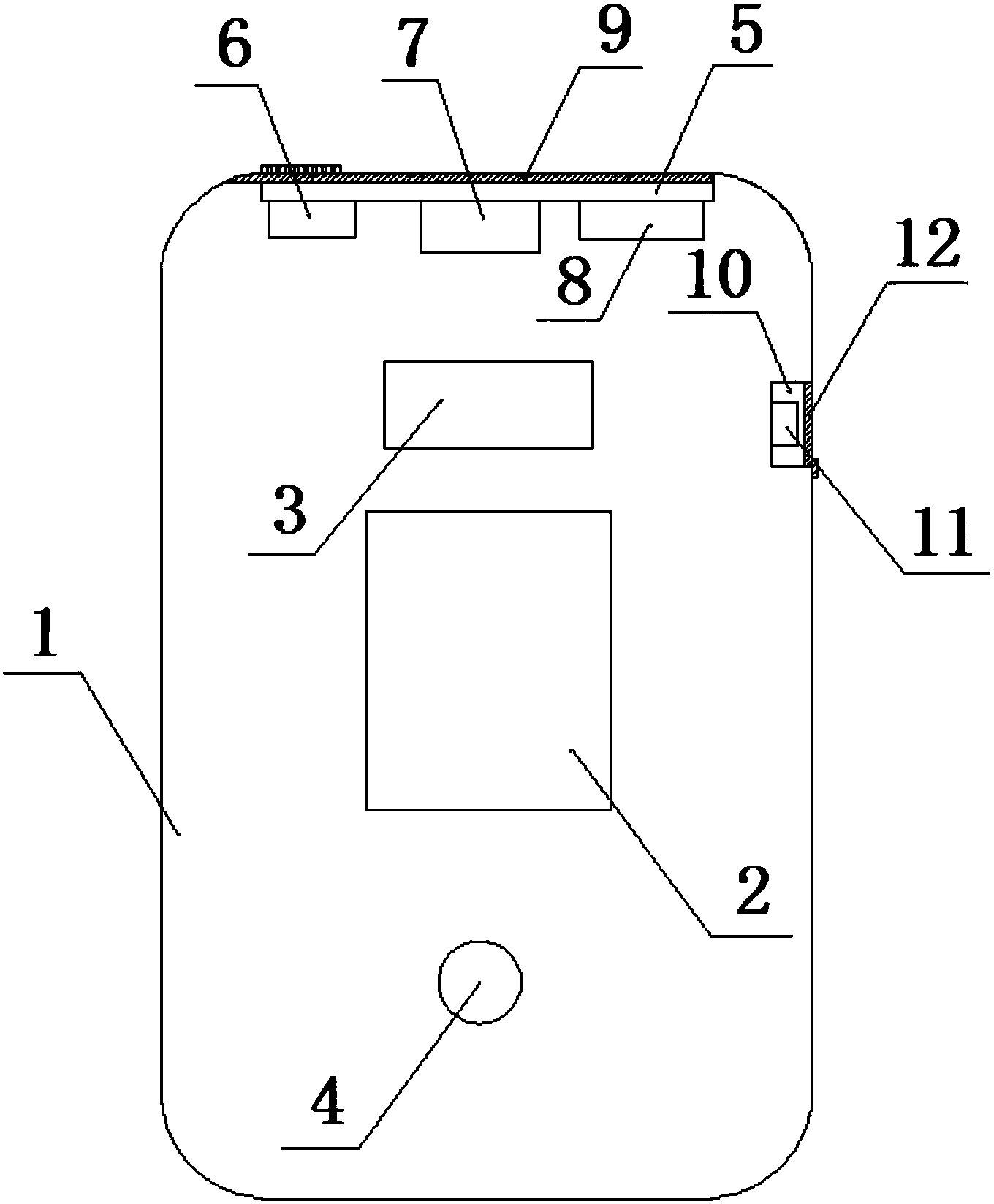
本实用新型公开了一种具有一键报警功能的手机,包括手机本体,手机本体内的中部固定设有控制器,手机本体内的顶部固定设有信号收发器,手机本体内的底部固定设有定位器,手机本体的顶端设有第一凹槽,第一凹槽的底端从左至右依次设有摄像头、收音器和语音播放器,第一凹槽的顶部滑动连接有盖板,盖板顶端的一侧设有防滑块,手机本体顶部的一侧设有第二凹槽,凹槽内设有按键开关,凹槽的开口处铰接有硅胶,本实用新型一种具有一键报警功能的手机,通过整体结构的设置,方便使用者一键进行报警,并能够将使用者的视屏信息、语音信息发送至接警服务器平台;通过第一凹槽的结构设置,使得该报警功能具有隐蔽性。


