授权公布号:CN216217165U
一种便携式可移动的外置摄像头
有效
申请
2021-11-02
申请公布
1970-01-01
授权
2022-04-05
预估到期
2031-11-02
| 申请号 | CN202122661625.0 |
| 申请日 | 2021-11-02 |
| 授权公布号 | CN216217165U |
| 授权公告日 | 2022-04-05 |
| 分类号 | H04N5/225;F16M11/06;F16M11/18 |
| 分类 | 电通信技术; |
| 申请人名称 | 广州烈驹电子科技有限公司 |
| 申请人地址 | 广东省广州市天河区珠村灵山东路15号C栋302房 |
专利法律状态
2022-04-05
授权
状态信息
授权
摘要
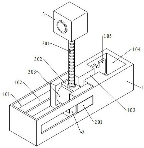
本实用新型公开了摄像头技术领域的一种便携式可移动的外置摄像头,包括放置箱、滑动座和转动座,放置箱中设有第一滑槽、第二滑槽和保护槽,滑动座位于第一滑槽中,并设有转动槽和摩擦组件,转动座位于转动槽中,并设有支撑杆和摄像头,本实用新型通过将摄像头从保护槽中取出,并移动滑动座,通过磁吸方式使滑动座位置固定,可通过调整转动座的转动角度调整摄像头的角度;通过将放置箱充当底座,增大摄像头放置在于桌面时与桌面的接触面积,提高放置和使用时的稳定性;通过移动滑动座至第一滑槽的前侧,并使支撑杆位于杆槽中,摄像头进入保护槽中,为摄像头等结构提供收纳保护功能,便于携带。


