授权公布号:CN209041577U
高压加氢截止止回阀
有效
申请
2018-10-17
申请公布
1970-01-01
授权
2019-06-28
预估到期
2028-10-17
| 申请号 | CN201821682788.9 |
| 申请日 | 2018-10-17 |
| 授权公布号 | CN209041577U |
| 授权公告日 | 2019-06-28 |
| 分类号 | F16K1/00;F16K1/32;F16K1/36;F16K27/02 |
| 分类 | 工程元件或部件;为产生和保持机器或设备的有效运行的一般措施;一般绝热; |
| 申请人名称 | 上海良工阀门厂有限公司 |
| 申请人地址 | 上海市宝山区锦宏路68号 |
专利法律状态
2019-06-28
授权
状态信息
授权
摘要
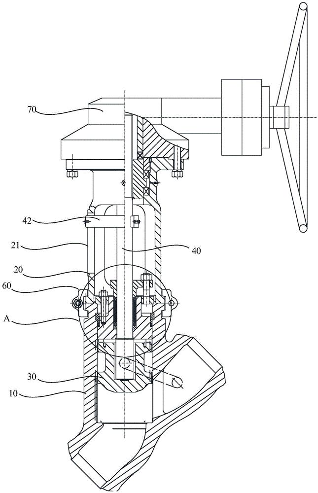
本实用新型提供一种高压加氢截止止回阀,其包括有:阀体,支架,阀瓣、阀杆、填料箱、卡箍和伞齿轮装置,所述填料箱、所述阀瓣和所述阀杆位于所述阀体内,所述阀杆穿过所述填料箱,所述支架通过所述卡箍与所述阀体连接,所述卡箍内开有连接槽,所述支架与所述阀体分别设有向外凸起的支架连接部和阀体连接部,所述支架连接部和所述阀体连接部卡设于所述连接槽内。阀杆的上端和下端分别连接伞齿轮装置和阀瓣。利用卡箍结构能够实现阀体和支架之间快速连接,提高阀体和支架之间连接或拆卸的便捷性,提高了装配的效率。


