授权公布号:CN206310065U
密封部过载保护装置
有效
申请
2016-12-08
申请公布
1970-01-01
授权
2017-07-07
预估到期
2026-12-08
| 申请号 | CN201621344489.5 |
| 申请日 | 2016-12-08 |
| 授权公布号 | CN206310065U |
| 授权公告日 | 2017-07-07 |
| 分类号 | F16K41/02 |
| 分类 | 工程元件或部件;为产生和保持机器或设备的有效运行的一般措施;一般绝热; |
| 申请人名称 | 上海良工阀门厂有限公司 |
| 申请人地址 | 上海市宝山区锦宏路68号 |
专利法律状态
2017-07-07
授权
状态信息
授权
摘要
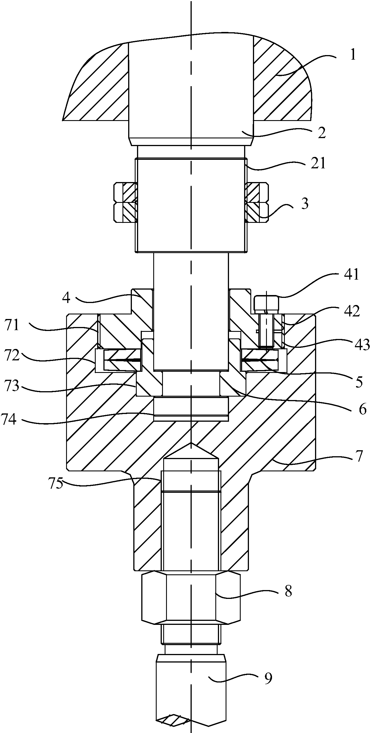
本实用新型提供一种密封部过载保护装置,包括一活塞杆和一阀杆,密封部过载保护装置还包括有调节件、弹性件、支撑座、连接体,连接体依次包括第一螺纹部、容纳部、支撑部、连接部、第二螺纹部,活塞杆的下端凸肩置于连接部中,支撑座置于支撑部上,弹性件置于支撑座上和容纳部中,调节件的下底面置于弹性件上,且调节件的下柱面的外螺纹与第一螺纹部相配合,活塞杆依次穿过支撑座和调节件,阀杆一端与第二螺纹部相匹配,支撑座的顶端与调节件的上底面之间、弹性件的外圆与容纳部之间有一定的间隙。该密封部过载保护装置能够减小阀门密封部所受的挤压力,防止密封部被压坏,有效的延长密封部的使用寿命。


