授权公布号:CN206943572U
波纹管截止阀
有效
申请
2017-04-11
申请公布
1970-01-01
授权
2018-01-30
预估到期
2027-04-11
| 申请号 | CN201720376720.7 |
| 申请日 | 2017-04-11 |
| 授权公布号 | CN206943572U |
| 授权公告日 | 2018-01-30 |
| 分类号 | F16K41/10;F16K27/08 |
| 分类 | 工程元件或部件;为产生和保持机器或设备的有效运行的一般措施;一般绝热; |
| 申请人名称 | 上海良工阀门厂有限公司 |
| 申请人地址 | 上海市宝山区锦宏路68号 |
专利法律状态
2018-01-30
授权
状态信息
授权
摘要
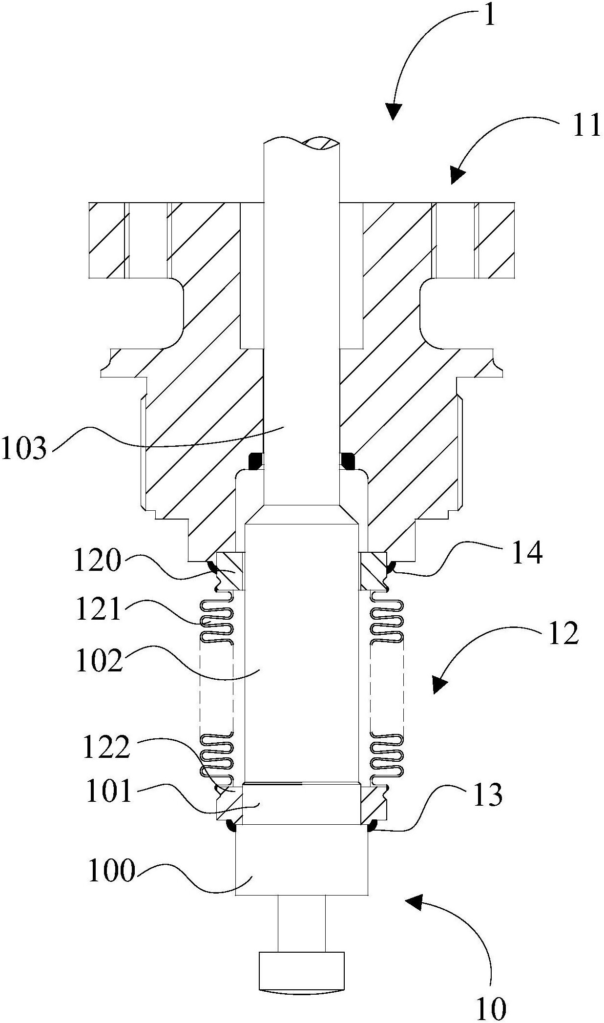
本实用新型公开了一种波纹管截止阀,其包括阀杆和波纹管组件,波纹管组件包括上连接套、波纹管和下连接套,下连接套的下端面延伸有第一突出部,阀杆包括第一杆体和第二杆体,第二杆体与第一杆体的邻接处具有一凸台面;下连接套套设于第二杆体,第一突出部抵靠于凸台面,且下连接套的下端面焊接于第一杆体的外壁面,并形成有第一焊缝,第一焊缝从所述下连接套的下端面延伸至所述第一杆体的外壁面,并覆盖于第一突出部的整个外壁面。本实用新型中第一突出部能够代替钨极氩弧焊加焊丝熔化改善下连接套与阀杆焊接操作过程中的平稳性,充分保证焊接质量,焊缝表面均匀,焊后成型理想,且能够保证焊后表面不咬边以及足够的焊喉厚度,提高焊接牢固性。


