授权公布号:CN206310040U
手气动驱动装置
有效
申请
2016-12-08
申请公布
1970-01-01
授权
2017-07-07
预估到期
2026-12-08
| 申请号 | CN201621344319.7 |
| 申请日 | 2016-12-08 |
| 授权公布号 | CN206310040U |
| 授权公告日 | 2017-07-07 |
| 分类号 | F16K31/143 |
| 分类 | 工程元件或部件;为产生和保持机器或设备的有效运行的一般措施;一般绝热; |
| 申请人名称 | 上海良工阀门厂有限公司 |
| 申请人地址 | 上海市宝山区锦宏路68号 |
专利法律状态
2017-07-07
授权
状态信息
授权
摘要
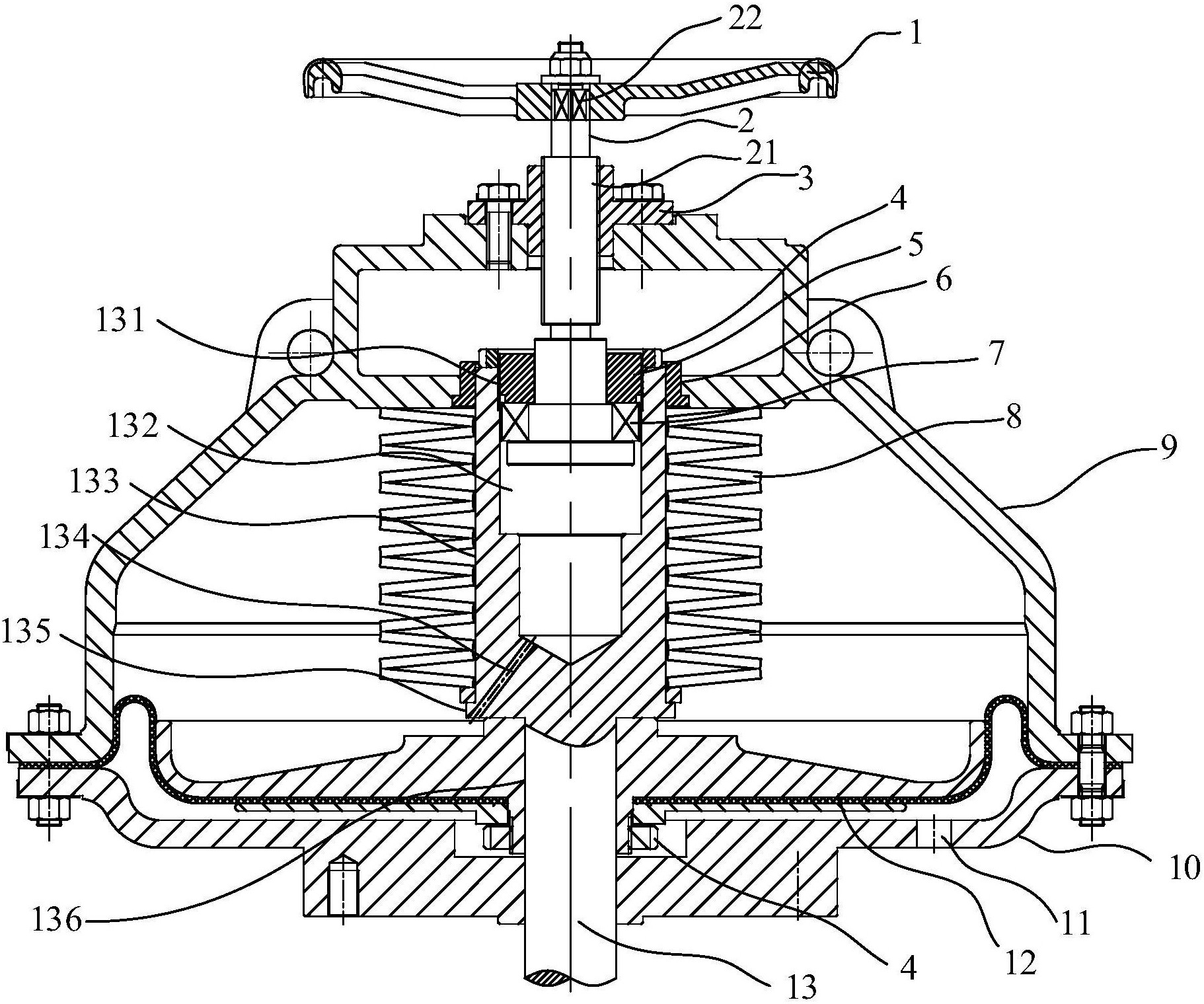
本实用新型提供一种手气动驱动装置,包括一上缸盖和一下缸盖,上缸盖连接于下缸盖,手气动驱动装置还包括有活塞杆、活塞或薄膜、弹性件、轴承盖、传动杆、传动连接件、手轮,活塞杆包括上柱面、中柱面和下柱面,弹性件套设于上柱面的外圆且置于中柱面的上方,活塞或薄膜套设于下柱面的外圆,上柱面的内部依次包括第一螺纹部和容纳部,第一螺纹部与轴承盖的外螺纹相匹配,传动杆依次穿过手轮、传动连接件、轴承盖,所述传动杆的下端置于容纳部中。该手气动驱动装置实现了气动装置在没有气源,或气动故障失灵的情况下,利用手动进行驱动装置的启闭,而在气动可用时,手动机构不影响其正常运行。


