授权公布号:CN218866580U
一种用于穿戴商品防盗的安全装置
有效
申请
2022-09-09
申请公布
1970-01-01
授权
2023-04-14
预估到期
2032-09-09
| 申请号 | CN202222401797.9 |
| 申请日 | 2022-09-09 |
| 授权公布号 | CN218866580U |
| 授权公告日 | 2023-04-14 |
| 分类号 | G08B13/22;H02J7/00 |
| 分类 | 信号装置; |
| 申请人名称 | 杭州朗鸿科技股份有限公司 |
| 申请人地址 | 浙江省杭州市滨江区西兴街道阡陌路482号A楼第3层301室 |
专利法律状态
2023-04-14
授权
状态信息
授权
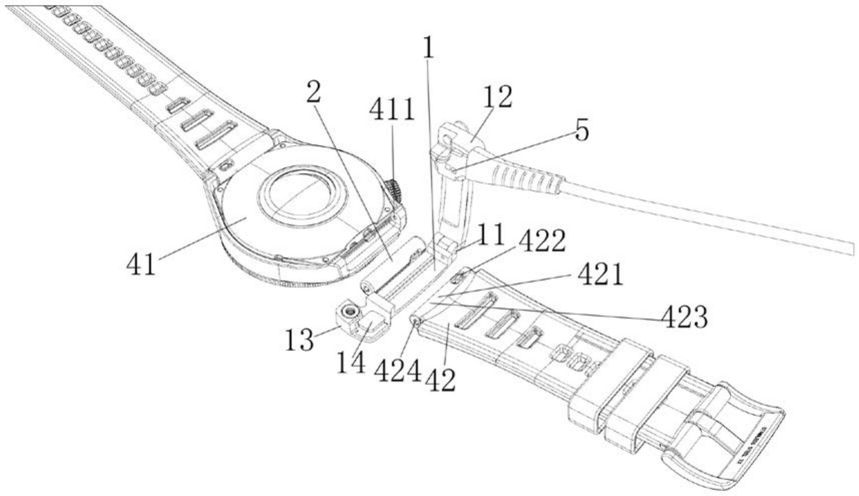
摘要
本实用新型公开了一种用于穿戴商品防盗的安全装置,包括锁定装置、第一连接构件和第二连接构件;穿戴商品包括商品主体和连接到商品主体的商品附件,商品附件被配置为能够从商品主体上可操作的拆卸,第一连接构件被配置为可操作的连接所述商品主体,第二连接构件被配置为可操作的连接所述商品附件;安全装置被配置为当锁定装置锁定时,锁定装置能够限制所述商品主体和商品附件从所述安全装置的移除。本实用新型的安全装置适用于可穿戴式的商品,安全装置在非授权移除的情况下,能发出报警。本安全装置结构简单,便于拆卸,适用于多种型号的穿戴式商品。


