授权公布号:CN220343818U
一种佩戴饰品
有效
申请
2023-06-21
申请公布
1970-01-01
授权
2024-01-16
预估到期
2033-06-21
| 申请号 | CN202321610277.7 |
| 申请日 | 2023-06-21 |
| 授权公布号 | CN220343818U |
| 授权公告日 | 2024-01-16 |
| 分类号 | A44C25/00 |
| 分类 | 服饰缝纫用品;珠宝; |
| 申请人名称 | 周六福珠宝股份有限公司 |
| 申请人地址 | 广东省深圳市罗湖区东晓街道东晓社区太白路3031号中冠商务大厦2301-2409(一照多址企业) |
专利法律状态
2024-01-16
授权
状态信息
授权
摘要
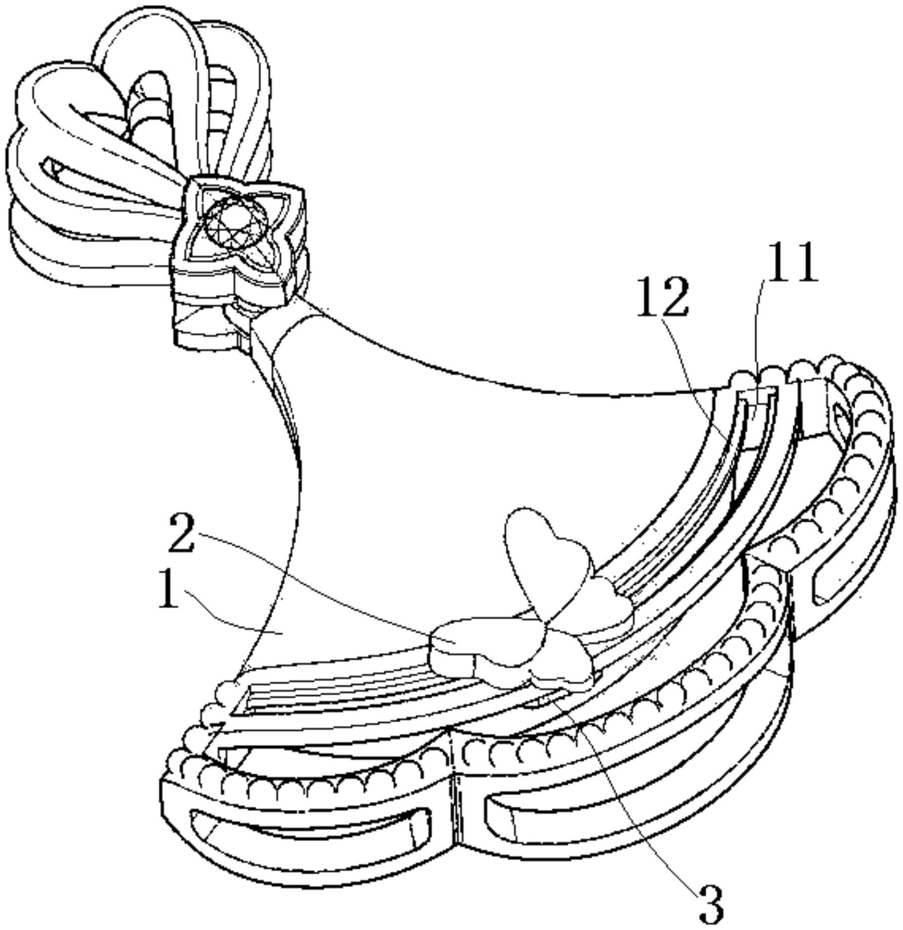
本实用新型公开了一种佩戴饰品,包括主体,包括能够在主体上滑动的滑动装饰体,主体上设置有滑道,滑动装饰体包括装饰部、中部凸起和连接柱;连接柱穿过滑道且与主体后侧的限位滑片固定连接,限位滑片被配置为限制滑动装饰体在滑道内转动;中部凸起与滑道的前侧边沿前后相抵以在滑道宽度方向以及深度方向限位。通过中间凸起与前侧边沿相抵,即使出现磨损,由于磨损面积非常小,且磨损方向基本一致,因此不会出现花面问题,保持了美观,而将止转部设置在后侧,即使出现花面也不影响整体美观。而且点对点接触滑动阻力比较小,在高精度配合下,滑动装饰体相对主体的滑动也会非常顺畅,所以能够有效地解决佩戴饰品上滑动部滑动效果不好的问题。


