授权公布号:CN214670799U
一种智能身份采集核验装置
有效
申请
2021-04-13
申请公布
1970-01-01
授权
2021-11-09
预估到期
2031-04-13
| 申请号 | CN202120749183.2 |
| 申请日 | 2021-04-13 |
| 授权公布号 | CN214670799U |
| 授权公告日 | 2021-11-09 |
| 分类号 | G07C9/25;G07C9/27;G07C9/00;G06K9/00;G06K7/14;H04W4/80;H02J7/35;G08B21/24;G08B7/06 |
| 分类 | 核算装置; |
| 申请人名称 | 桑田智能技术(上海)有限公司 |
| 申请人地址 | 上海市宝山区逸仙路1328号6幢3层3152室 |
专利法律状态
2021-11-09
授权
状态信息
授权
摘要
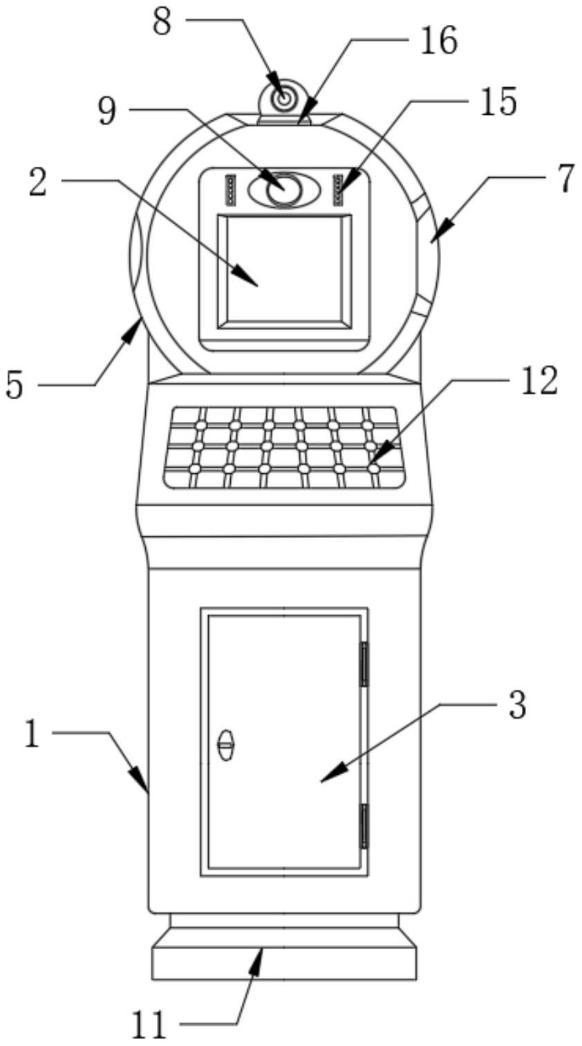
本实用新型公开了一种智能身份采集核验装置,包括立柱、查验机构、触控屏,所述检修门后侧的立柱内壁纵向设有一组锂电池,所述立柱的顶部表面竖直设有球形采集箱,所述查验机构包括人脸识别摄像头、扫描探头、智能门禁控制盒,所述人脸识别摄像头通过电动云台竖直设在采集箱的顶部表面中部,所述扫描探头斜向设在采集箱的前侧表面上端中部,所述智能门禁控制盒设在采集箱的内壁底端中部,所述触控屏斜向设在扫描探头下方的采集箱前侧表面。本实用新型利用身份证扫描器配合人脸识别摄像头完成身份信息的核验,并通过扫描探头采集人员的健康码信息以获取通行权限并在智能门禁控制盒作用下开启门锁以完成安全放行,使用效果好。


