授权公布号:CN115693583B
通信线缆高密闭性保护盒
有效
申请
2022-12-29
申请公布
2023-02-03
授权
2023-03-21
预估到期
2042-12-29
| 申请号 | CN202211700977.5 |
| 申请日 | 2022-12-29 |
| 申请公布号 | CN115693583A |
| 申请公布日 | 2023-02-03 |
| 授权公布号 | CN115693583B |
| 授权公告日 | 2023-03-21 |
| 分类号 | H02G15/10;H02G15/18;H02G15/013 |
| 分类 | 发电、变电或配电; |
| 申请人名称 | 义博通信设备集团股份有限公司 |
| 申请人地址 | 河北省沧州市河间市新区 |
专利法律状态
2023-03-21
授权
状态信息
授权
2023-02-03
公布
状态信息
公布
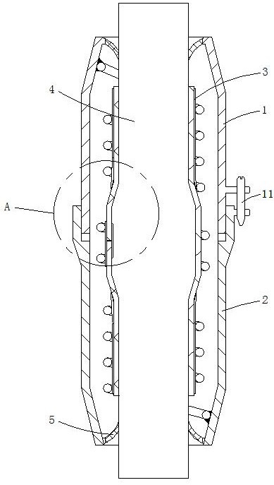
摘要
本发明提供了通信线缆高密闭性保护盒,属于线缆安装技术领域,包括:第一壳体、第二壳体、密封管和加强筋。第二壳体与第一壳体可拆卸连接,第二壳体内侧与第一壳体内侧围设有容纳腔。密封管设于容纳腔内且用于密闭套装在线缆上。加强筋一端连接在第一壳体上,另一端连接在第二壳体上,加强筋绕设在密封管上,加强筋用于提高密封管与线缆之间的密闭性。本发明提供的通信线缆高密闭性保护盒加强筋通过第一壳体和第二壳体绕设并挤压在密封管上,由于密封管受到了外部的作用力从而提高了密封管与线缆之间的作用力,最终提高了密闭性,保证了接头长时间的稳定。


